加微信获完整版(非赠品)
微信:14790755414
2026年中考物理实验题强化题库60题
1.在“探究平面镜成像特点”的活动中:(如图所示)

(1)实验中用薄玻璃板代替平面镜,利用了玻璃透明的特点,便于确定__________,薄玻璃板应与纸面________。
(2)实验过程中应点燃蜡烛________(选填“A”、“B”或“A和B”)。移动蜡烛B,发现蜡烛B与A的像完全重合,说明________;
(3)更换蜡烛后正确操作,记录下A、B两支蜡烛在纸上的位置如图乙所示,通过分析得出像与物到玻璃板的距离相等,像与物的连线与玻璃板垂直;为了证实上述有关成像特点是否可靠,你认为应采取的操作是________;
A.保持A、B两支蜡烛的位置不变,多次改变玻璃板的位置进行观察、测量
B.保持玻璃板的位置不变,多次改变蜡烛A的位置,进行与上述(3)相同的操作
(4)若实验时,玻璃板不与水平桌面垂直,如图丁所示,则发生的现象是________;
A.蜡烛A仍然成像在蜡烛B处
B.蜡烛A成像位于水平面偏上方
C.蜡烛A成像位于水平面偏下方
(5)如图戊所示,若玻璃板的厚度为3mm,铅笔分别在玻璃板两个面各成1个像,则2个像中的笔尖相距________mm
2.如图甲所示,在“比较不同物质吸热能力”的实验中,小明将质量和初温均相同的水和沙子分别装入两个相同的容器中,用同一盏红外灯从正上方同时照射,并不断轻轻搅拌。

(1)用同一盏红外灯同时照射,是为了确保在相同时间内,水和沙子________相等;
(2)将测量的数据在图乙的坐标系中画出温度和时间的图像,根据图像可知,沙子的比热容是________
3.小明同学为了测量山茶油的密度,进行以下实验:

(1)先将天平放在_________,再将游码移到标尺零刻度处,发现指针静止在分度标尺中央刻度线的右侧,此时应将平衡螺母向________________(选填“左”或“右”)调节,使天平平衡。
(2)用调节好的天平测量茶油和烧杯的总质量,操作情景如图甲所示,错误之处是:_______________。
(3)重新调节好天平,小明称得茶油和烧杯的总质量为 60g,然后将一部分茶油倒入量筒中,如图乙所示;再将烧杯放在天平上,称得剩余茶油和烧杯的总质量如图丙所示,由此可知:茶油的密度是_________
加微信获完整版含答案解析
微信: 14790755414
4.小明做“研究液体的压强特点”实验时得到的几组数据如下表,请回答下列问题:
序号 | 液体 | 深度/cm | 橡皮膜方向 | 压强计左右液面高度差/cm |
1 | 水 | 5 | 朝上 | 4.9 |
2 | 水 | 5 | 朝下 | 4.9 |
3 | 水 | 5 | 朝侧面 | 4.9 |
4 | 水 | 10 | 朝侧面 | 9.7 |
5 | 水 | 15 | 朝侧面 | 14.6 |
6 | 酒精 | 15 | 朝侧面 | 11.8 |

(1)图示压强计是通过U形管液面___________来反映被测压强大小的。
(2)比较序号1、2、3的三组数据,可得出的结论是:同种液体在同一深度处,各个方向液体压强___________(选填“相等”或“不相等”)。
(3)比较序号3、4、5的三组数据,可得出的结论是:___________。
(4)比较序号5、6的两组数据,可得出的结论是:在同一深度处,不同液体的压强与___________有关。
5.小明在选用弹簧测力计的过程中,发现用不同规格的弹簧测力计测量大小相同的力时,弹簧伸长的长度不一样。关于影响弹簧的伸长量的因素,小明有以下三种猜想。
猜想1:弹簧的材料可能影响弹簧的伸长量。
猜想2:弹簧的原长可能影响弹簧的伸长量。
猜想3:弹簧的粗细可能影响弹簧的伸长量。
小明为了探究自己的猜想,设计出一个实验方案:
①将一根弹簧剪成长度不同的两根,测出两根弹簧的初始长度、;
②如图甲所示,固定弹簧的一端,用大小相同的力拉弹簧,测出两根弹簧的对应长度、;
③改变拉力的大小,重复实验步骤②,记录实验数据。

(1)图甲中,该实验还缺少的实验器材是______。
(2)实验方案中“将一根弹簧剪成长度不同的两根”,这样做是为了得到______和______均相同的两根弹簧,该实验方案研究的是猜想______(填序号)。
(3)实验方案中“用大小相同的力拉弹簧”,表明弹簧的伸长量还与__________有关。
(4)实验方案中除了步骤①②外,还设计步骤③的目的是__________。
(5)探究完成后,小明选了A、B两根长度和材料相同,但粗细不同的弹簧进行测试,绘制出如图乙所示的图像,图像中只有OA段和OB段是弹性形变,若要制作精确程度较高的弹簧测力计,应选用弹簧______;小明的力气比较大,他要制作弹簧拉力器锻炼,应选用弹簧______。(均选填“A”或“B”)
6.在“探究杠杆平衡条件”实验中:所用的实验器材有:杠杆(每小格均等长)、铁架台、刻度尺、细线和若干个重力1N的钩码。

(1)实验前杠杆左端下沉,应将平衡螺母向___________调,使杠杆在水平位置平衡。
(2)多次实验后得出杠杆平衡条件:___________。多次实验的目的是___________(选填“A.取平均值减小误差”或“B.使实验结论具有普遍性”)。
(3)如图丁所示,杠杆平衡时,若在两边钩码下各加挂一个相同钩码,杠杆___________(选填“保持平衡”“左端下沉”或“右端下沉”)。
(4)如图戊,用弹簧测力计竖直向上拉杠杆,使杠杆平衡,拉力为___________N;若将弹簧测力计倾斜拉,始终保持杠杆水平平衡,拉力大小将___________(选填“变大”“不变”或“变小”)。
7.在“探究杠杆平衡条件”实验中,实验器材有不同形状的轻质杠杆、刻度尺、若干钩码(每个重)等。

(1)图甲中杠杆静止,此时杠杆__________(选填“是”或“不是”)处于平衡状态,要使杠杆水平平衡,应将平衡螺母向__________端调节。
(2)如图乙所示,使杠杆水平并静止后,固定支点左侧钩码的个数和悬挂点,不断改变支点右侧钩码的个数和悬挂点,使杠杆始终保持水平平衡,记录支点右侧的力和力臂,图像如图丙所示。由图可得:在支点左侧的力和力臂不变时,的数值为________。
(3)图丁是曲臂杠杆,不挂钩码,杠杆静止时左侧保持水平。在支点左侧3格处悬挂2个钩码,右侧2格处悬挂3个相同的钩码,则杠杆________(选填“能”或“不能”)保持静止。
(4)多次改变两侧钩码个数和悬挂点,记录杠杆左侧保持水平时的数据如表,
实验次数 | 动力/N | 支点到动力作用点的距离/cm | 动力臂/cm | 阻力/N | 支点到阻力作用点的距离/cm | 阻力臂/cm |
1 | 2.0 | 9 | 9 | 1.5 | 13.8 | 12 |
2 | 3.0 | 10 | 10 | 2.5 | 13.8 | 12 |
3 | 2.5 | 8 | 8 | 2.0 | 11.5 | 10 |
分析表格数据,杠杆平衡的普遍规律是:________。(用表中物理量符号表示)
(5)得出结论后,两位同学利用两根相同的实心金属杆(两端粗细不同)设计了下列两种悬臂式红绿灯,其中螺钉对支架底座施加的力较小的是________。(填选项字母)

(6)实验结束后,小洛自制了一把杆秤,如图所示:已知秤砣的质量为,零刻度线在提纽右侧、离提纽的距离为,秤盘离提纽的距离是,标记刻度时,在秤盘中放入已知质量为的物体,移动秤砣至杆秤水平平衡时,标记秤砣细线在秤杆上的位置,并记为。则此位置到提纽的距离的表达式为________(用、、、表示)。

8.科学探究是物理学科的重要组成部分。如图所示,这是“探究水在沸腾前后温度变化特点”的实验。

(1)调整图甲装置的陶土网高度时,______(选填“需要”或“不需要”)点燃酒精灯;
(2)正确调整实验装置后,在水温升到90℃时开始计时,每隔0.5min记录一次温度。其中第1min时温度计示数如图乙所示,此示数为______℃。图丙______(选填“①”或“②”)所示的现象表示水正在沸腾。记录的数据如表所示,分析数据可得出结论:水沸腾时,持续吸热,温度______;
时间 | 0 | 0.5 | 1 | 1.5 | 2 | 2.5 | 3 | 3.5 | 4 |
温度/℃ | 90 | 92 | 95 | 96 | 98 | 98 | 98 | 98 |
(3)为了进一步验证水沸腾时的条件,小明同学进行了创新实验,如图丁所示。当烧杯中的水不断沸腾时,小试管中的水______(选填“会”或“不会”)沸腾,原因是______;此时温度计a、b的示数大小关系是______
9.根据图所示的实验回答下列问题。
(1)图是“测量小车运动的速度”的实验装置。为便于测量小车在斜面上的运动时间,应使斜面保持很__________(选填“陡”或“缓”)的坡度。B为AC的中点,,两次实验小车都从A点由静止下滑,第一次实验到达C点所用时间为2.8s,第二次实验到达B点所用时间为2s,则小车在第一次实验中,通过BC段的平均速度为__________m/s。

(2)图是“探究液体压强与哪些因素有关”的实验装置,通过比较甲乙两图可知:同种液体内部,深度越大,压强越______;比较乙丙两次实验,可知:在深度相同时,液体的密度越大,压强越______。图丁中,橡皮管和玻璃管侧壁管口相连通,当向玻璃管中吹气时,U形管内液面较高的是______(选填“a”或“b”)。

加微信获完整版含答案解析
微信: 14790755414
10.小红用如图所示的电路测量小灯泡正常发光时的电阻。所选器材有:干电池两节、电流表、电压表、额定电压为2.5V的小灯泡、开关、“50Ω,1.5A”的滑动变阻器各一只、导线若干。

(1)用笔画线代替导线将图甲中的电路连接完整。
(2)连接好电路,将滑动变阻器的滑片移至_____(选填“A”或“B”)端。闭合开关,移动滑动变阻器的滑片,直至电压表的示数是______V时,读出电流表的示数如图乙所示,为_____A,小灯泡正常发光时的电阻约为______Ω(保留一位小数)。
(3)小红想测量小灯泡灯丝在常温时的电阻大小,于是设计方案:移动滑动变阻器的滑片,直至灯丝不发光,读出电流表和电压表的示数,计算出电阻的大小,你认为小红的方案是否正确?______。判断的依据是:________________ 。
11.某小组用图甲中的器材测量小灯泡的电阻,所用电源电压为3V,小灯泡的额定电压为2.5V。

(1)请用笔画线表示导线,将图1甲中的电路连接完整(要求:①电压表的量程选择合适②滑片P向左移动时电流表示数变大);
(2)正确连接好电路,闭合开关前,应将滑动变阻器的滑片P置于B端。闭合开关后,发现小灯泡不发光,电压表有示数,电流表无示数。已知导线、电表均完好且接触良好,造成这一现象的原因可能是灯泡______(选填“短路”或“断路”);
(3)排除故障后进行实验,当滑动变阻器的滑片移至某一位置时,电压表的示数为2.1V,电流表的示数如图1乙所示,为______A,此时小灯泡的电阻为______
(4)经过多次实验,测量并记录多组数据,得到小灯泡的图像如图2所示,该图像不是一条直线,其原因是灯泡的电阻随______的变化而变化。接下来,小组成员又对实验过程中通过滑动变阻器的电流与其两端的电压的关系进行了思考,根据图2大致画出了滑动变阻器的图像。图3为三位同学画出的图像,其中正确的是______(填“A”、“B”或“C”),你判断的理由是______;

(5)请结合表中信息分析,能否用该实验的器材探究电流与电压的关系,并说明理由:______。
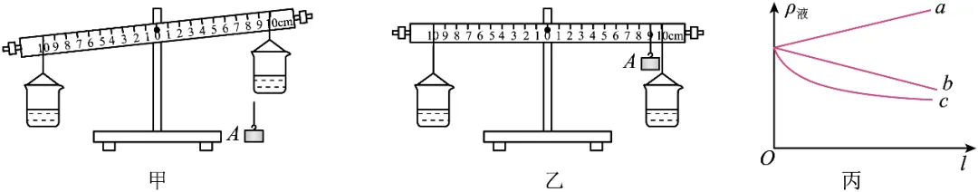
12.某小组用杠杆、带挂钩的重物A(质量为10g)、水和两个可读取液体体积的相同容器等,制作了可测算液体密度的装置。使用前,需将两容器挂在杠杆两端固定10cm刻度线处的位置,如图甲,调节两端平衡螺母使杠杆水平平衡,使用中,小明向左侧容器中倒入体积的水,再向右侧容器中倒入相同体积的待测液体,通过在右边悬挂重物A,使杠杆再次水平平衡,如图乙。他根据相关数据,算出了该液体的密度。

(1)图甲中要使直尺水平平衡,应将平衡螺母向________调节;
(2)小明测出的待测液体密度为________
(3)依照他的做法,不同的待测液体密度与重物A距支点O的距离l满足一定的函数关系,图丙中图线________符合此关系;
(4)若要提高该密度秤测量液体密度时的精确度,可换用质量更________(选填“大”或“小”)的重物A。
13.探究杠杆平衡的条件

【证据】
(1)在实验前,杠杆静止在如图甲所示位置,此时杠杆处于______(选填“平衡”或“不平衡”)状态;
(2)图甲中,为使杠杆在水平位置平衡,可将平衡螺母向______调节,使杠杆在水平位置平衡的目的是便于测量______;
(3)杠杆水平平衡后,在杠杆的两端加挂钩码并移动钩码,如图乙所示,使杠杆在水平位置平衡,同时测出力臂大小,并将收集的数据记录在下表中,实验中多次测量的目的是______;
序号 |
|
|
|
|
1 | 0.5 | 30 | 1.0 | 15 |
2 | 0.5 | 30 | 1.5 | 10 |
3 | 0.5 | 30 | 0.5 | 30 |
【解释】分析表格数据,可以得出杠杆的平衡条件是__________(用等式表示);
【交流】
(4)如图丙所示,在杠杆的左端挂上钩码,右端用弹簧测力计竖直向下拉杠杆使其在水平位置平衡。若保持杠杆不动,改变弹簧测力计拉力的方向,如虚线所示,则弹簧测力计的示数将______(选填“变大”“变小”或“不变”),理由是__________。
14.在测量液体和固体密度的实验中:(如图所示)

(1)将天平放在________台面上,游码移到________,发现天平指针指在分度盘中线的左侧,为了使天平平衡,应将右端的平衡螺母向________调节;
(2)如图甲,测得烧杯和饮料的总质量为________g;向量筒中倒入部分饮料,如图乙,读出量筒中饮料的体积:用天平测得烧杯和剩余饮料的总质量为40g,则饮料的密度为________
(3)接着,用水、刻度尺、薄壁轻质塑料瓶测石头的密度,设计了如图丙所示方案,请将实验步骤补充完整:
①在薄壁轻质塑料瓶中装适量的水,用刻度尺测出瓶中水的深度为;
②用双面胶(不考虑质量和体积)把石头粘在瓶底,将瓶子放水中,瓶子恰好在竖直方向漂浮,用刻度尺测出瓶子浸入水中的深度为;
③将瓶子和石头上下对调,再将瓶子放入水中,瓶子仍在竖直方向漂浮,用刻度尺测出____的高度差为,则石头密度的表达式为_______。(用和测量量的符号表示)
加微信获完整版含答案解析
微信: 14790755414
15.在测量铅笔芯的电阻大小实验中。测量电路如图1所示,电源电压为4.5V。

(1)连接电路时开关应该________(选填“断开”“闭合”),闭合开关前,图1中的滑动变阻器滑片应置于最________(选填“左”“右”)端;
(2)请按照图1的电路图将图2的实物图连接完整;
(3)将滑动变阻器滑片从初始位置移动到另一端,逐次记录电压表示数U和电流表示数I,完成后作出图像,如图3所示,由图可知,铅笔芯的阻值为________Ω,滑动变阻器的最大阻值为________Ω;
(4)用实验室一只刻度线清晰,但所标数字模糊不清的电流表,制作一个可直接测定电阻的仪器,设计的电路如图4所示,电路中电源电压恒定且未知,操作如下。
①在a、b接线柱间接入导线,闭合开关,移动滑动变阻器滑片,直到电流表指针指到最大刻度;
②保持滑片位置不变,ab间改接入10Ω的定值电阻,此时电流表指针偏转到最大刻度的处;
③取下ab间的定值电阻,接入待测电阻,电流表指针偏转到最大刻度的处,可知待测电阻的大小为________Ω;
④在电流表表盘刻度线处标相应的电阻值,则电阻值分布是________(选填“均匀”或“不均匀”)的。
16.小彬用如图所示的装置研究液体内部的压强。

(1)图1装置是测量液体内部压强的仪器。它的探头是由空金属盒蒙上橡皮膜构成的。如果液体内部存在压强,放在液体里的薄膜就会发生形变,U形管左右两侧液面就会产生高度差;
(2)根据图2、图3所示现象可以研究:液体内部压强大小与______的关系;
(3)如图3、图4所示,保持探头在水中的深度不变,改变探头的方向,观察U形管左右两侧液面的变化,得出结论:在液体内部的同一深度,向各个方向的压强都______;
(4)为研究液体内部压强大小是否与液体密度有关,小彬接着将浓盐水缓慢倒入图3所示容器的水中(液体未溢出、探头位置不变),静置待均匀混合后,观察到U形管左右两侧液面发生了变化,得出液体内部压强大小与液体密度有关的结论。小彬得出结论的实验过程是错误的,判断的依据是:______;
(5)通过学习,小彬利用掌握的液体压强知识测量实验所用盐水的密度,过程如下:
①向如图5所示容器中的左侧倒入适量的水,橡皮膜向右凸起;
②再向容器中的右侧缓慢倒入盐水,直至橡皮膜恢复原状;
③测得水面到橡皮膜中心的深度为,测得盐水液面到橡皮膜中心的深度为;
④可推导出该盐水密度的表达式为______(用、、表示)。
17.在探究“影响压力作用效果的因素”实验中,小龙先将海绵放在水平桌面上,如图甲所示。接着将小桌腿朝下放在海绵上,如图乙所示。然后将铁块A放在小桌上,如图丙所示。最后将桌面朝下,把铁块B放在小桌上,如图丁所示。

(1)实验中,根据海绵的________可以判断压力的作用效果,这里采用的研究方法是________;
(2)由乙、________两图所示实验可得压力的作用效果与压力大小有关;
(3)利用丙、丁两图所示实验探究压力的作用效果与受力面积大小是否有关时,铁块A和B质量关系是________(选填“相等”或“不相等”);
(4)将丁图中小桌和铁块B放在如图戊所示的木板上,________(选填“能”或“不能”)完成实验,此时图戊中木板受到的压强p与图丁中海绵受到的压强的大小关系为p________
(5)实验时,小龙将小桌换成木块,并将木块沿竖直方向切成大小不同的两块,如图己所示,发现它们对海绵的压力作用效果相同,由此得出的结论是压力的作用效果与受力面积无关,他得到的结论是________的(选填“正确”或“错误”),理由是________。
18.
(1)用如图所示的实验装置研究“阻力对物体运动的影响”。

①实验中让小车从同一斜面的相同高度由静止开始滑下,是为了使小车到达水平面时的________相同,小车在水平面静止时如图甲、乙、丙所示,由此可知:小车受到的阻力越小,在水平面运动的距离越________;
②进一步推测:在水平面上运动的小车,如果受到的阻力为零,小车将做________运动。
(2)在探究“二力平衡的条件”实验中,小明采用的实验装置如图甲所示,在左端托盘内放上2N重物,右端托盘内放上1.9N的重物时,木块静止,此时木块受到的________(选填“是”或“不是”)平衡力。小华采用的实验装置如图乙所示,小华实验中的研究对象是________(选填“小车”或“托盘内的物体”)。在这两个实验装置中,装置________(选填“甲”或“乙”)更科学。

19.为了测量某液体的密度,小明进行了如下实验。

(1)将天平放在水平桌面上,将游码移到标尺的零刻度线处,若指针静止时位置如图1所示,则应再将平衡螺母向_______(选填“左”或“右”)端调节;
(2)在烧杯中装入适量待测液体,用天平正确测量其总质量。当天平平衡时,右盘中的砝码和游码位置如图2所示。再将烧杯中的部分液体倒入量筒如图3所示;
(3)测出烧杯和剩余液体的总质量为101g,则液体的密度为________
(4)若另一位同学在量筒读数时错误,导致密度测量结果偏大,则这位同学读数时的视线可能如图4中________(选填“甲”“乙”或“丙”)所示。
加微信获完整版含答案解析
微信: 14790755414
20.小秦同学在做“电流与电压、电阻的关系”实验时,准备以下器材:电压可调的电源、电流表、电压表、滑动变阻器(50Ω 1A)、四个定值电阻(5Ω、10Ω、20Ω、40Ω)开关、导线若干。小秦将电源电压调为6V后,根据如图所示的电路图进行实验。

实验次数 | 1 | 2 | 3 | 4 | 5 |
U/V | 1.0 | 1.5 | 2.0 | 2.5 | 2.8 |
I/A | 0.22 | 0.32 | 0.42 | 0.52 | 0.58 |
(1)如图连接的实物图,其中有一根导线连接错了,请你在接错的那根导线上画“”,并用笔画线代表导线将电路连接正确(要求导线不能交叉);
(2)连接好电路后,闭合开关S,发现电压表无示数而电流表有示数,则电路中的故障可能是___________;
(3)排除故障后,小秦首先探究“电流与电压”的关系,小秦通过调节滑动变阻器滑片,测出定值电阻两端电压和通过的电流如表所示,根据数据可知,小秦在实验前的操作过程中存在的问题是___________;修正问题后,根据实验数据可以得到结论:当电阻一定时,___________成正比;
(4)小秦继续探究“电流与电阻的关系”,移动滑动变阻器的滑片,使得电压表示数为2V,记录电流表示数;接着小秦将电阻换为电阻,此时电压表示数___________
___________(选填“左”或“右”)端移动;
(5)当小秦用的定值电阻替换的定值电阻,闭合开关,他调节滑动变阻器的阻值,发现电压表示数始终不能调为2V。请提出一条能帮助小秦利用现有器材完成40这次实验的措施:___________。
21.在探究“冰熔化时温度变化的规律”的实验中,小明分别在烧杯和试管中放入适量的碎冰,并各放入一支温度计组成如图甲所示的实验装置,完成下面探究实验。

(1)实验过程中A、B两只温度计的示数随时间的变化图像如图乙所示,通过分析图像可知,________(选填“实线”或“虚线”)是烧杯中碎冰温度随时间变化的图像。
(2)第9分钟时,烧杯内的碎冰处于__________(选填“固”“液”或“固液共存”)态。
(3)第12分钟时,此时试管中的冰_________(选填“能”或“不能”)熔化,试管中的冰从第______min开始熔化。
(4)当冰全部熔化后,继续加热使烧杯中的水沸腾并持续一段时间,发现试管中的水始终不会沸腾,其原因是__________;当小明在烧杯中加入少量的食盐后,发现试管中的水能够沸腾,说明加入食盐后混合物的沸点与原来水的沸点相比________(选填“升高”、“降低”或“不变”)。
22.某小组想探究“导体的电阻与导体长度的关系”。他们选择了如图甲所示的器材,并且连接了部分电路。将固定在木板上长为15cm的铅笔芯作为研究对象,并标记为等长的五段,a、f为铅笔芯的两个端点,中间四点分别标记为b、c、d、e。

(1)若使滑动变阻器的滑片P向D端滑动时电流表的示数增大,需用一根导线将电源的正极接线柱与滑动变阻器的________(选填“A”“B”或“C”)接线柱连接。连接电路时开关要处于________状态;
(2)将电路连接完整后,把线夹夹在f点,闭合开关,发现无论如何调节滑动变阻器,电压表和电流表始终无示数。用一根导线检测电路故障,将导线的两端分别接到开关两端的接线柱上时,电压表和电流表仍无示数;将导线的两端分别接到滑动变阻器接入电路的两接线柱上时,电压表和电流表均有示数。若电路中只有一处元件故障,则故障是__________;
(3)该小组排除故障后继续实验,闭合开关后快速记录电流表和电压表的示数,然后立即断开开关。电流表的示数如图乙所示,该读数为__________A。调节滑动变阻器,多次测量并计算出电阻的平均值;
(4)将线夹分别夹在e、d、c、b点,重复步骤(3),得到铅笔芯接入长度l和对应的铅笔芯接入电阻的平均值R的数据,如表所示,由表中数据可得实验结论:在材料和横截面积一定的条件下,___________;
线夹位置 | b | c | d | e | f |
铅笔芯接入长度l/cm | 3 | 6 | 9 | 12 | 15 |
铅笔芯接入电阻的平均值R/Ω | 2.0 | 4.0 | 5.9 | 8.0 | 10.0 |
(5)接着小洛只利用电流表、一根长5cm的2B铅笔芯X(已知电阻为),另一根长10cm的2B铅笔芯Y(两根铅笔芯除长度外其他均相同),按图连接电路,测量滑动变阻器的最大电阻值R:

①调节滑动变阻器至阻值最大,快速闭合开关S、,断开,测得电流为;
②保持滑动变阻器滑片不动,快速闭合开关__________,测得电流为;
③滑动变阻器的最大电阻值__________(用、、来表示),
23.探究滑动摩擦力大小与哪些因素有关
在探究滑动摩擦力的影响因素实验中,所用器材如下:长木板、棉布、长方体木块、砝码、弹簧测力计等。

【证据】
(1)将木块放在水平长木板表面,用弹簧测力计沿______方向拉动木块,使其做匀速直线运动,弹簧测力计示数如图甲所示,此时木块所受的滑动摩擦力与弹簧测力计拉力大小______。
(2)完成图甲实验后,接下来分别在木块上加放砝码或在长木板上铺棉布,如图乙、丙所示,分别改变木块对长木板的压力或接触面的______,继续实验。
(3)实验完成后得到如下实验数据。
序号 | 甲 | 乙 | 丙 |
弹簧测力计示数/N | 1.6 | 2.2 | 2.6 |
【解释】分析表格中的数据,可得到初步结论,接触面越______(选填“光滑”或“粗糙”),木块对长木板的压力越______,木块受到的滑动摩擦力越大。
【交流】
(4)某同学在图甲基础上,将木块沿竖直方向切去一部分,如图丁所示,探究滑动摩擦力大小与接触面积的大小是否有关。你认为他的实验设计______(选填“合理”或“不合理”),理由是______。
加微信获完整版含答案解析
微信: 14790755414
24.亲爱的同学,请运用你所掌握的物理知识解答下列问题。

(1)弹簧测力计的工作原理是弹簧在一定范围内,其所受拉力越大,会被拉得越______。如图甲所示的弹簧测力计分度值为______N,此时它的示数为______N。
(2)为了探究力的作用效果的影响因素,某同学设计了图乙所示的实验,图(a)(b)(c)是将弹性较好的相同钢片固定在桌边,图(d)是将钢片换成外形相同的铁片(使用的钩码规格相同)。
①本实验通过比较______来比较力的作用效果。
②比较(a)和(c)两图,可以发现:力的作用效果与力的______有关。
③比较图(c)和(d)后发现,力的作用效果与受力物体的______有关。
④除本实验可探究的因素外,你认为力的作用效果还与______有关。
41.实验小组用伏安法测量小灯泡正常发光时的电阻,连接了如图甲所示的电路,小灯泡的额定电压为2.5V。

(1)如图甲所示是该实验小组开始时连接的电路,仔细观察发现该电路存在连接错误,但只需改动一根导线,即可使电路连接正确,请你在应改动的导线上打“×”,并用笔画线代替导线画出正确的接法;
(2)电路连接正确后,闭合开关,发现小灯泡不发光,电流表无示数,电压表示数接近电源电压。电路中出现的故障可能是_________________;
(3)闭合开关,移动滑片至某位置时,电压表的示数为2V,为使灯泡L正常发光,应将滑片向________(选填“A”或“B”)端移动;
(4)小灯泡正常发光时,电流表的示数如图乙所示,此时小灯泡的电阻是________Ω。(计算结果保留一位小数)
(5)小灯泡的关系如图丙所示,则当温度升高时灯丝的电阻将_________(选填“变大”或“变小”)。本实验中进行多次测量的目的是__________________。
(6)在实验过程中,电流表突然损坏,实验小组又找到了一个电压表和一个阻值为10Ω的定值电阻,设计了如图丁所示电路,将直接与灯泡并联的电压表示数记,另一电压表示数记为,当滑动变阻器的滑片从最右端向最左端移动的过程中,以下与的变化关系图像可能是________。(选填序号)
A.
B.
C.
D.
42.小明在探究“滑动摩擦力的大小与哪些因素有关”,找到三个挂钩、两个相同的新透明皂A、B和一个弹簧测力计,在水平窗台上做了如图所示的四次探究实验:

(1)实验时,每次都要用弹簧测力计沿_________方向拉动透明皂做___________运动,该实验是利用了_______的原理;
(2)①②两次实验说明:________;
(3)小明设计②③两次实验,是为了探究滑动摩擦力的大小与________的关系;
(4)小明在窗台上铺了一条毛巾,做了第④次实验,对比①④两次实验________(选填“能”或“不能”)得出滑动摩擦力的大小与接触面的粗糙程度有关的结论,理由是________。小明应该对比____两次实验。
43.永福县某物理兴趣小组用伏安法测量盐水柱的电阻。

(1)如图甲把两端装有金属活塞的塑料管接入电路。在塑料管中注满浓度均匀的盐水。
(2)闭合开关前滑动变阻器的滑片应滑至___________(填“A”或“B”)端。第一次测量时电压表的示数如图乙,为___________V。移动滑动变阻器的滑片P,测得多组数据记录在表格中。通过计算可得出,盐水柱的电阻为___________
实验次数 | 1 | 2 | 3 | 4 |
电压U/V | 1.2 | 2.0 | 3.0 | |
电流I/A | 0.10 | 0.12 | 0.20 | 0.30 |
电阻R/ |
(3)同学们想到电阻大小与长度和横截面积有关,盐水柱的电阻是否也与这些因素有关呢?于是利用现有装置继续探究。
①保持两活塞位置不动,从注水口抽出部分盐水后,塑料管中盐水水面达到如图丙所示位置。闭合开关,测得此时塑料管中盐水柱的电阻比注满盐水时的电阻大。因此,可判断:盐水柱的电阻与___________有关。
②为了继续探究盐水柱的电阻与长度的关系,同学们将两端的活塞同时向内推动一段距离,测得盐水柱的电阻比图甲时的电阻小。经过讨论,同学们认为该现象不能说明盐水柱的电阻与长度有关,他们判断的理由是___________。
(4)实验结束后,小聊整理器材时发现一只铭牌模糊的滑动变阻器,在不使用电压表的情况下,测出了该滑动变阻器的最大电阻值,电路设计如图丁所示,电源电压未知且恒定不变,为已知阻值的定值电阻。请把以下测量步骤补充完整:
①闭合开关S,当滑片P处于最左端时,电流表示数为;
②闭合开关S,当___________时,电流表示数为;
③则滑动变阻器的最大阻值为___________(用、、表示)。
44.小明在探究物体动能的大小与哪些因素有关的实验中,提出了2个猜想。猜想1:物体动能的大小与物体的质量有关;猜想2:物体动能的大小与物体的速度有关。

为了验证猜想,小明设计了如图所示的实验。光滑斜轨道与水平直轨道平滑连接,将体积相同、质量为m和2m的两个小球分别从斜轨道上高度为2h、h处由静止释放。3次实验中,小球进入水平直轨道推动纸盒一起在水平面上运动了一段距离后停下,分别测出小球与纸盒一起运动的最大距离,由此判断出小球撞击纸盒时的动能大小。
(1)该实验中,“物体的动能”中“物体”指的是_______(选填“小球”或“纸盒”);
(2)本实验中用到的物理研究方法是控制变量法和_______;
(3)图甲、乙所示的2次实验中,小球都从相同高度处由静止释放,是为了使2次实验中小球运动到斜轨道底端时的_______相同;分析甲、乙图的实验现象,可以初步得到的结论是_______;
(4)有同学联想到八年级学过的“探究阻力对物体运动的影响”实验:让同一小车从同一斜面的同一高度由静止释放,分别在毛巾、木板、玻璃板三种不同水平表面上运动,最终均静止。若小车从到达水平表面至静止的过程中,克服摩擦做的功分别是W1(毛巾表面)、W2(木板表面)、W3(玻璃板表面),则三个功的大小关系为_______。
加微信获完整版含答案解析
微信: 14790755414
45.小明用如图甲所示的电路探究“电流与电压和电阻的关系”,电源电压恒为3V。

(1)小明检查电路时,发现有一根导线连接错误,请你在图甲中将连接错误的导线画上“×”,并用笔画线代替导线正确连接电路,要求:滑片P向右移动时电流表的示数变小;
(2)将5的定值电阻接入电路中,闭合开关,第1次实验的电流表示数如图乙所示,为_______A,调节滑片P,重复实验,记录数据填入表格丙中。分析数据得出结论:在电阻一定的情况下,通过导体的电流与导体两端的电压成_______。
表丙 | 表丁 | ||||||
实验次数 | 1 | 2 | 3 | 实验次数 | 1 | 2 | 3 |
电压U/V | 1.0 | 1.5 | 2.0 | 电阻R/ | 5 | 10 | 20 |
电流I/A | 0.30 | 0.40 | 电流I/A | 0.40 | 0.20 | 0.10 |
(3)小明继续探究“电流与电阻的关系”,将5、10和20的定值电阻分别接入电路进行实验,实验数据如表格丁所示,实验中控制定值电阻两端电压为_______V。
(4)要完成(3)中的实验,滑动变阻器的最大阻值最小为_______
46.如图所示,小英用弹簧测力计、木块、砝码和两个材料相同但表面粗糙程度不同的长木板做“探究影响滑动摩擦力大小的因素”实验。

(1)将木块放在水平长木板上,用弹簧测力计沿水平方向______拉动木块,根据______知识可知,木块受到滑动摩擦力的大小等于弹簧测力计的示数;
(2)小英进行了甲、乙、丙三次实验,实验中记录的数据如下表所示:
实验序号 | 实验条件 | 弹簧测力计示数F/N | |
甲 | 木块 | 较光滑的长木板 | 0.7 |
乙 | 木块上放个砝码 | 较光滑的长木板 | 0.9 |
丙 | 木块上放个砝码 | 较粗糙的长木板 | 1.1 |
①分析______两次实验的数据,可以得出结论:接触面的粗糙程度相同时,压力越大,滑动摩擦力越大。这里用到的研究方法为______;
②乙、丙两次实验是为了探究滑动摩擦力的大小与______的关系。分析数据可以得出结论:______,滑动摩擦力越大;
(3)小英还想探究滑动摩擦力的大小与接触面积的关系,于是她将实验中的木块沿竖直方向切掉一半后重复实验,如图丁所示。将弹簧测力计的示数与甲实验的数据对比后,小英得出结论:滑动摩擦力的大小与接触面积的大小有关。你认为她的结论是______(选填“正确”或“错误”)的,理由是______;
(4)实验时,小英发现弹簧测力计示数不稳定,原因是______。
47.如图甲所示,大雪过后路面结冰,道路养护工作人员撒盐使路面的冰及时熔化,确保车辆的出行安全。为了弄清其中缘由,小明做了一组关于冰熔化的实验。

(1)如图乙,在组装实验器材时,实验中某时刻温度计的示数如图丙所示,则示数是______℃。
(2)加热一段时间后,小明根据记录的实验数据在丁图中绘制了A图像,由此可判断冰是_______(选填“晶体”或“非晶体”),其在熔化过程中内能_____(选填“增加”、“减小”或“不变”)。
(3)完成上述实验后,小张又取了适量淡盐水制成的碎冰,用相同的热源再次加热,得到丁图中B图像;
(4)再次取适量浓度更大一些的盐水制成的碎冰,用相同的热源加热,得到丁图中C图像:通过以上实验可知,请说明结冰的路面撒盐的原因:撒盐可以______(选填“升高”、“降低”或“不变”)冰的熔点。
(5)小青同学发现加热过程中烧杯壁上出现水珠,小组其他成员解释是由于水蒸气液化而形成的,水珠会出现在烧杯杯壁的________(选填“内侧”或“外侧”)。
48.为了测量电阻的大小,某小组连接了实物电路如图甲所示:

(1)请用笔画线代替导线将实物电路连接完整;
(2)该小组同学进行了三次实验,数据记录如下表所示,则电阻______
实验次数 | 电压 | 电流 |
1 | 1.0 | 0.1 |
2 | 2.0 | 0.2 |
3 | 2.5 | 0.24 |
(3)实验中,某小组电流表损坏,于是同学们根据老师提供的器材又设计了如图乙所示的电路(为阻值已知的定值电阻)。
①断开,________________(写出另外两个开关的状态),电压表测量电源电压,记为U;
②、闭合,断开,电压表测量两端电压,记为;
③请用已知量和测量量表达的阻值,即______。
49.
(1)小明和小华一起探究“平面镜成像特点”实验,实验器材有:玻璃板、支架、两支完全相同的棋子等;

该实验采用茶色透明玻璃板代替平面镜,是为了便于__________ ;实验中发现A的像A′偏暗,为了使A的像更亮,可以用手电筒发出的一束平行光来照射,图乙中有a、b、c、d 四种照射方法,其中能观察到棋子的像变亮的照射方法是 ___________; 小明把四个字母模型分别面对玻璃板直立在桌面上,用于研究像与物左右位置的关系,其中能够达到实验目的的是()
A.字母C模型B.字母A模型C.字母T模型D.字母V模型
(2)在做探究“冰熔化时温度的变化规律”的实验。

图丁中温度计的示数为___________℃;根据实验测得的数据绘制出如图戊所示的温度随时间变化的图像。分析图像数据可知, BC段熔化过程的特点是___________ ;当试管中的冰全部熔化成水后,继续用酒精灯加热,试管中的水_________ (选填“能”或“不能”)沸腾。
加微信获完整版含答案解析
微信: 14790755414
50.如图是小阳同学探究二力平衡条件时使用的实验装置。

(1)实验时,应选择较______(选填“光滑”或“粗糙”)的水平桌面;为了方便操作与判断,应选择小车的______(选填“静止”或“匀速直线运动”)状态作为平衡状态;
(2)小阳按照以下步骤进行实验,观察并记录小车的受力及运动情况;
①把两个托盘分别系在小车两侧,并在托盘中放入质量相等的砝码,如图甲;
②改变右侧托盘中砝码的质量,这是为了探究相互平衡的两个力的______关系;
③保持两个托盘中的砝码质量相等,把小车在水平桌面上扭转一个角度后释放,这是为了探究______的两个力能否平衡;
④把两个托盘系在小车的同一侧,在托盘中放入质量相等的砝码后,小车运动,说明二力平衡时,两个力必须______;
⑤如图乙,给两个相同的小车分别系上一个托盘,用手按住两小车,在托盘中放入质量相等的砝码后释放小车,发现两小车向相反方向运动。说明二力平衡时,两个力必须作用在______(选填“同一”或“不同”)物体上;实验条件和现象记录如下表:
实验步骤 | 小车在水平方向上的受力情况 | 小车运动状态是否改变 | |||
是否作用在同一物体上 | 大小 | 方向 | 是否在同一直线上 | ||
① | 是 | 相等 | 相反 | 是 | 否 |
② | 是 | 不等 | 相反 | 是 | 是 |
③ | 是 | 相等 | 相反 | 否 | 是 |
④ | 是 | 相等 | 相同 | 是 | 是 |
⑤ | 否 | 相等 | 相反 | 是 | 是 |
(3)对表格内容进行分析,小阳得出结论:作用在______(选填“同一”或“不同”)物体上的两个力,如果大小______、方向______,并且在同一直线上,这两个力就彼此平衡。
51.某小组探究电流与电阻关系的实验中,使用的部分器材为:电源(电压恒为6V)、“50Ω1.2A”的滑动变阻器、5Ω、10Ω、15Ω、20Ω的定值电阻各一个。

(1)请用笔画线表示导线将图甲中的电路补充完整,使滑动变阻器滑片向右移动时电流表示数变大。________
(2)按图甲正确连接电路,闭合开关后,发现电压表有示数,电流表无示数。已知导线、电表均完好且接触良好,造成这一现象的原因可能是________。
(3)排除故障后,接入5Ω的定值电阻,调节滑动变阻器,使电压表的示数为2.0V,此时电流表的示数如图乙所示,为________A。
(4)断开开关,用10Ω的定值电阻替换5Ω的定值电阻后,闭合开关,接下来的操作是:移动滑片,________,并记录电流表的示数。
(5)依次更换定值电阻,重复实验。分析数据,得出结论。
(6)若计划将定值电阻两端的电压U取1.5V,是否能依次用上述4个定值电阻完成实验?请判断:________(填“能”或“不能”),理由:________________________。
52.如图所示,小雷做“测量小灯泡电功率”实验中,所用电源电压恒为6V,小灯泡的螺旋套上标有“2.5V”字样,滑动变阻器的规格是“20Ω1A”。

实验次序 | 1 | 2 | 3 |
电压/V | 1.5 | 2.0 | 2.5 |
电流/A | 0.15 | 0.17 | 0.20 |
(1)请你根据图甲电路图用笔画线代替导线,将图乙中未完成的电路连接好。(要求:滑动变阻器的滑片向右移动时,灯泡变暗,导线不能交叉);
(2)连接电路后闭合开关,发现电压表有示数,电流表无示数,移动滑动变阻器的滑片,电压表示数有明显变化,但电流表示数依然为零,则电路故障可能是()
A.灯泡短路B.滑动变阻器短路C.灯泡断路D.电流表被短路
(3)电路故障排除后,闭合开关,逐步移动滑片,电压表示数如图丙所示,为使灯泡正常发光,应向________(选填“左”、“右”)端移动滑片P;
(4)上表记录实验中小灯泡的I、U数据,小雷发现:电压越大,小灯泡的电阻越大,出现这种现象的原因是________________________________。
53.如图甲,小玲和小青分别用两个功率相同的不同品牌电热水壶(壶和壶)装800mL和1000mL的水,探究水沸腾前后温度的变化。两个电热水壶均可显示水温,但温度显示原理可能不同。她们把水温随时间变化的数据绘制成图像(如图乙)。实验在同一实验室进行,但两次实验时间相隔一天。

(1)图乙中描绘的是______(选填“小玲”或“小青”)的实验数据;
(2)对比小玲和小青的沸腾图像可知,水沸腾时温度______;
(3)小玲和小青测得水的沸点不相同。小玲认为是因为电热水壶的内置电子温度计显示不准确导致的,小青认为是因为沸腾时水面上气压不同导致的。你支持谁的观点?请说明理由,并简要设计一个实验验证你的观点。
54.如图甲是小刚同学探究二力平衡条件时的实验情景。

(1)实验中的研究对象是_________(选填“卡片”或“钩码”),小刚将系于小卡片(重力可忽略不计)两对角的线分别跨过左右支架上的滑轮,在线的两端挂上钩码,使作用在小卡片上的两个拉力方向_________(选填“相同”或“相反”),并通过调整_________来改变拉力的大小,当卡片_________(选填“静止”或“加速运动”)时,卡片处于平衡态。
(2)当小卡片平衡时,小刚将小卡片转过一个角度,松手后小卡片_________(选填“能”或“不能”)平衡,说明__________。
(3)当小卡片平衡时,将小卡片沿中间剪成两半,小卡片_________(选填“能”或“不能”)平衡,说明平衡力必须作用在同一物体上。
(4)在探究同一问题时,小明将木块放在水平桌面上,设计了如图乙所示的实验,同学们认为小刚的实验优于小明的实验,其主要原因是_________(填字母)。
A.减少摩擦力对实验结果的影响
B.容易让小卡片在水平方向上保持平衡
55.小明想测量牛奶的密度,进行了如下操作:

(1)把天平放在水平桌面上,将游码移至标尺左端零刻度线处,指针偏左,应向___________调节平衡螺母。
(2)用天平测量空烧杯的质量,砝码和游码示数如图所示,空烧杯质量为___________g。
(3)向烧杯中倒入适量牛奶,测得烧杯和牛奶总质量为122.4g;将牛奶全部倒入量筒,量筒示数为40cm3,牛奶密度为___________g/cm3。
(4)按此步骤测得的牛奶密度偏___________(选填“大”或“小”),原因是___________。
加微信获完整版含答案解析
微信: 14790755414
56.在“人工孵蛋”的跨学科实践活动中,同学们需要制作一个孵化箱,为鸡蛋的孵化提供合适的温度环境。同学们从老旧的电吹风中,截取了部分电热丝用于制作发热电阻。

任务一:测量自制电热丝
(1)请用笔画线代替导线把图1电路连接完整。
(2)闭合开关S,发现电流表无示数,电压表有明显示数,出现该故障的原因可能是电热丝______。
(3)排除故障后,向左移动滑动变阻器的滑片到某一位置,电压表示数如图2所示,同时读出此时电流大小为0.44A,则电阻______
任务二:调整电热丝发热功率
(4)如图3所示,将电阻丝放入孵化箱中,并用温度传感器检测孵化箱温度。当孵化箱温度过低时,滑片应该向______侧移动以提高孵化箱温度。
(5)若将学生电源电压调到最大值,滑动变阻器阻值调到最小,加热功率仍然不够。为增大加热功率,在不改变电路连接的方式下,只利用图3提供的器材进行改动,可以______达到解决问题的目的。
任务三:改进与提升
温度过高会导致鸡蛋失去活力而无法孵化,同学们在孵化箱中装了自制高温报警装置。阻值不计的报警器在电流达到某一值时开始报警,电路图如图4所示,电源电压保持3V不变,L为指示灯,为热敏电阻,其阻值随温度t变化的函数关系是。
(6)当箱内温度升高时,灯的亮度变______。
(7)通过向左侧调节滑动变阻器可以______(选填“升高”或“降低”)报警温度。
(8)在某次实验中,老师布置了用电流表和已知阻值的定值电阻测未知电阻阻值的任务。同学按电路图正确连接电路:闭合开关S,断开开关,读出电流表示数。同时闭合开关、,读出电流表示数。此时待测电阻的阻值:______。(用、、表示)

57.雨过初晴,小丽发现透过附在叶片上的水珠,能看到正立放大的“叶片脉络”;而透过叶片上的水珠能看到远处倒立缩小的“花朵”。针对这一现象,她和同学们一起探究凸透镜成像的正倒、大小与物距的关系。

(1)小丽将F形光源(如图甲)、凸透镜和带有刻度的光屏按图乙所示安装在水平光具座上,接下来她应将三者的中心调整到________。
(2)调整好后,小丽多次改变物距和光屏的位置进行实验,收集的数据和观察的现象如表1所示。小丽分析归纳后,得到初步结论:随着物距不断减小,物体所成实像逐渐________(选填“变大”或“变小”),且像都是________(选填“正立”或“倒立”)的。
表1
序号 | 物高h/cm | 物距u/cm | 像高h/cm | 像的正倒 | 像的虚实 |
1 | 4.0 | 30.0 | 2.0 | 倒立 | 实像 |
2 | 26.0 | 2.5 | 倒立 | 实像 | |
3 | 23.0 | 3.0 | 倒立 | 实像 | |
4 | 15.0 | 8.0 | 倒立 | 实像 | |
5 | 13.0 | 13.5 | 倒立 | 实像 | |
6 | 7.0 | 找不到像 |
表2
序号 | 物高h/cm | 物距u/cm | 像高h/cm | 像的正倒 | 像的虚实 |
1 | 4.0 | 25.0 | 1.0 | 倒立 | 实像 |
2 | 18.0 | 1.3 | 倒立 | 实像 | |
3 | 15.0 | 2.0 | 倒立 | 实像 | |
4 | 10.0 | 4.0 | 倒立 | 实像 | |
5 | 8.0 | 6.5 | 倒立 | 实像 | |
6 | 4.0 | 找不到像 |
(3)实验过程中,小丽发现在光屏上始终没有观察到正立放大的像。回想透过水珠观察叶脉的情景,她采用图________(选填“丙”“丁”“戊”)的方式可以观察到正立放大的“像”。
(4)组间交流时,小丽发现小红的实验记录(如表2所示)中有与物体等大的像,而自己却没有观察到这一现象。为了尽快在自己实验中找到等大的像,她应调整物距在________cm和________cm之间反复多次实验。
58.下表是小明在探究“重力的大小跟质量的关系”实验中得到的实验数据。
实测物体 | 物体质量m/kg | 重力G/N | G与m的比值/(N/kg) |
物体1 | 0.1 | 1.0 | 10 |
物体2 | 0.2 | 2.0 | 10 |
物体3 | 0.3 | 3.0 | 10 |
(1)实验中,需要的测量工具是________和弹簧测力计;
(2)在图中,根据上面表格中的数据画出重力与质量之间关系的图线;

(3)分析数据,可以得到的结论是:________。该结论对于月球上的物体________(选填“仍成立”或“不成立”);
(4)实验时,多次测量的目的是________;
(5)小亮取了质量不同的苹果、小木块、小铁球各一个,并分别测出它们的质量和重力,来探究物体所受重力大小与质量的关系,你认为小亮同学的做法________。
A.不合理,因为他没有用同种物质的物体做实验
B.不合理,因为他没有使物体的质量成整数倍变化
C.合理,因为他的操作比小明同学更简便
D.合理,因为他同样可以得到的物体所受重力大小与质量的关系
59.在 “探究影响滑动摩擦力大小的因素” 实验中:

(1)实验中用弹簧测力计___________拉动木块,根据___________原理,滑动摩擦力大小等于拉力大小。
(2)对比甲、乙两次实验,可得出结论:___________。
(3)对比___________两次实验,可探究滑动摩擦力与接触面粗糙程度的关系。
(4)若将木块沿竖直方向截去一半,重复甲实验,测得滑动摩擦力变为原来的一半,由此___________(选填“能”或“不能”)得出滑动摩擦力与接触面积有关,理由是___________。
60.利用如图所示的装置来“探究杠杆的平衡条件”。

(1)实验前杠杆如图甲所示,应将杠杆右端的平衡螺母向______调节,直至杠杆在水平位置平衡;杠杆平衡后如图乙所示,在杠杆 B点挂3个相同的钩码,则在杠杆的D点挂______个相同的钩码,就可使杠杆重新在水平位置平衡;
(2)保持B点钩码数量和力臂不变,杠杆在水平位置平衡时测出多组动力臂和动力的数据,并绘制成的关系图像,如图丙所示。请根据图像推算,当为0.6m时,为______N。
加微信获完整版含答案解析
微信: 14790755414



