2026届广东惠州高三下学期4月模拟考试 语文试题及答案

四季读书网 7 0
2026届广东惠州高三下学期4月模拟考试 语文试题及答案

尊敬的粉丝:

      实在对不起,从今天开始,我的试卷得收费(四元一份)了。

      万般无奈,因为网络上随便一打开,大多是我的试卷。有更过分的,我前一分钟发到公众号上,后一分钟,就被复制过去,发到其他的网站,做商业用途。

      原本想把这个公益事业一直做下去,我已经免费做了四年,如此调戏,实难接受。

      四望梅川河的牌子不能倒,一如既往的保持高质量。

承接初高中语文课外辅导和试卷命制业务。

 需要该公众号试卷完整版的,请联系微信号:18605712432

                                                         四望梅川河

                                                      2026年1月16日

有缘之人,随缘赞赏

附赞赏码

2026届广东惠州高三下学期4月模拟考试 语文试题及答案 第1张
试卷满分150分,考试时间150分钟一、阅读(72分)(一)阅读Ⅰ(本题共5小题,19分)阅读下面的文字,完成1-5题。2025年8月,有关部门印发《关于深入实施“人工智能+”行动的意见》提出,“加快形成人机协同、跨界融合、共创分享的智能经济和智能社会新形态”。9月,《上海合作组织成员国元首理事会天津宣言》呼吁,“将坚持以人为本、智能向善理念,共同防范人工智能技术的风险”。人工智能技术的快速发展,深度介入乃至重新塑造着人类社会运行逻辑,既带来了巨大的经济、民生和治理红利,也隐匿着价值失准、伦理失衡等风险挑战。在此背景下,如何实现科技与人文相互融合,以科学的价值准则、有效的治理思路推动人工智能向善而行、造福人类,为社会所普遍关注。本报特邀三位相关领域的学者,围绕上述话题开展讨论。/主持人:科学技术在本质上是由人创造且为人服务的,推动科技创新发展,既要从技术理性、工具理性维度考量,也要从价值理性、人文理性维度分析。发展人工智能应该如何平衡技术理性与价值理性的关系,遵照哪些价值原则?/李老师:对这一问题作出回答,首先需要科学把握人与人工智能技术之间的关系。尽管人工智能技术特别是智能体表现出越来越强的自主性与主体性,甚至有些国家赋予智能体或机器人法律主体资格,但人工智能技术及其形成的实体仍然不是独立的主体存在,而只是人作为主体在实践过程中将本质力量对象化而形成的人工创制物。人工智能只是人类意识和实践延伸的技术产物,自身并不具备自主价值诉求或主动目标导向,这决定了人工智能的工具性特征。换言之,人与人工智能技术的关系,仍然是主体与对象化工具之间的关系,而非对等的主体之间的关系。/因此,人工智能的“从善之理”,并不是像人作为主体那样去追求善,而是在认识与实践活动中,人类将善的理念与价值融入人工智能技术的开发、创新与应用过程中,使之符合人类对真善美的追求。人类借助人工智能开展的伦理实践活动,实质上是主体向善行动的拓展,是人自由而全面发展的现实表现。在此过程中,人类作为主体的道德性、卓越性与权威性得以确证,并实现了主体性的回归与彰显。由此可见,人工智能之所以要向善发展,其根源与基础仍在于人类自身要追求善、追求福祉,而作为人类本质力量确证与表现的人工智能技术,只是实现这一价值目标的工具手段。/卢老师:事实上,对智能向善的把握,根本价值根基在于以人的全面发展为原点,并锚定全人类共同价值。对此,可以从科技逻辑和应用逻辑两个维度来分析。/一方面,在科技逻辑上,智能向善需要从人工智能科技创新的各个环节入手,推进价值对齐。人们在进行人工智能研发的每一个环节都隐含价值倾向,应确保技术设计本身就嵌入善的准则。例如,利用高质量标注的数据训练大模型,避免数据投毒、数据污染,让大模型学习人类主流价值观和伦理规范。在这个维度,人工智能的“从善之理”就是创新发展普惠、公平、人本的人工智能技术。/另一方面,在应用逻辑上,智能向善需要在把握人工智能各种应用规律基础上,进行合乎伦理规范和主流价值观的应用。人工智能的应用场景直接关联个体权益与社会秩序,要让人工智能的发展合乎普惠公平、人类福祉等价值目标,让人工智能的各种应用符合善的价值标准,将以人为本、智能向善的理念贯穿应用全流程。/林老师:正如卢老师所说,智能向善的关键在于价值对齐。那么,向什么样的价值对齐、如何实现对齐,以及这一过程中人工智能道德模型的自我纠偏,是当下我们需要面对的问题。从国家新一代人工智能治理专业委员会2019年出台《新一代人工智能治理原则——发展负责任的人工智能》提出人工智能治理的框架和行动指南、2021年发布《新一代人工智能伦理规范》提出将伦理道德融入人工智能全生命周期,到2024年世界人工智能大会暨人工智能全球治理高级别会议发表《人工智能全球治理上海宣言》提出“共同推动人工智能技术突破与向善发展”,再到全国人大常委会2025年度立法工作计划提出推进人工智能健康发展立法工作,从理论到实践,我们对于人机关系的期待以及关于人工智能价值的共识正在变得越来越清晰。/智能向善在理念上突出表现为尊重人类尊严和主体性。一是确保以人的价值引领人工智能创新,即以人的伦理价值为标准和目标,推动人工智能的行为表现与人类价值观、道德规范、社会期望对齐,通过价值敏感设计等方法,将伦理价值植入智能算法。二是始终确保人类的“在场”。尽管人工智能事实上在推动自动化与无人化,但缺乏人类“在场”的人工智能,既无法向善也难以为继。只有将人工智能的理性能力与人的多元智能结合起来,才能最大限度发挥人工智能的作用,实现智能向善的目标。三是充分发挥人的主体性与自主性,构建“机优 人更优”的人机协同新模式。人工智能性能越高端,对人提出的综合素养与能力要求也就越高。人类只有充分发挥自身的能动性,才能更好地驾驭人工智能系统,借助人工智能促进自身自由全面发展。(摘编自《“智能向善”:人工智能创新发展的理与路》,《光明日报》2025年9月26日)1、下列对原文相关内容的理解和分析,不正确的一项是()(3分)A.人工智能技术的快速发展,深度介入乃至重新塑造着人类社会运行逻辑,带来利好的同时也隐匿着风险挑战。B.科学技术在本质上是由人创造且为人服务的,科学把握人与人工智能技术之间的关系是探讨主持人所提问题的前提。C.随着人工智能技术的发展,相应的政策法规也在不断修订完善,关于人工智能价值的共识正在变得越来越清晰。D.人工智能技术表现出越来越强的自主性与主体性,事实上也在推动自动化与无人化,因此人类可以无需“在场”。2、下列对原文相关内容的分析和评价,不正确的一项是()(3分)A.要探讨发展人工智能应该如何平衡技术理性与价值理性的关系这一问题,参加访谈的学者至少应该来自工程技术和人文科学两大领域。B.智能向善的关键在于价值对齐,所谓“价值对齐”可以理解为人工智能的行为表现与人类价值观、道德规范、社会期望对齐。C.人工智能的性能越高端,对人类综合素养与能力的要求也就越高;人工智能的发展必然会推动所有人自主性和主体性的不断提升。D.尽管本文是一篇访谈,但文本的表述仍然遵循层层递进的逻辑顺序,从核心本质到具体路径,再到落地保障与理念升华,环环相扣。3、根据原文内容,在下面文段的横线处补写出恰当的语句,每处不超过10个字。(3分)作为中学生,我们在应用人工智能时,要先主动把握其不同场景的应用规律,无论是借助AI辅助学科学习、拓宽知识视野,还是用AI完成创意创作、提升实践能力,都需坚守①,让人工智能的应用贴合善的价值标准。人工智能的应用场景与我们的学习生活、个人权益紧密相关,我们更要将②的理念贯穿应用全流程,拒绝用AI抄作业、伪造内容等不当行为,让AI的应用契合普惠公平、人类福祉等价值目标。总之,我们应该充分发挥③,让人工智能真正成为助力学习成长、提升自身能力的有益工具。4、访谈邀请的三位学者分别来自三个不同的领域,小语同学根据材料推测卢老师来自计算机研究领域。请结合材料,帮小语阐述推测依据。(4分)
(二)阅读Ⅱ(本题共4小题,16分)阅读下面的文字,完成6-9题。文本一:     觉醒年代(节选)   龙平平补树书屋,雾气缭绕,满地烟蒂。周树人足不出户已经很多天了,他一直在伏案写作。书桌上已经垒了一摞稿子,稿纸第一页醒目地写着四个字:狂人日记。/他在沉思,脑海里浮现同学杨开铭精神失常、沿街乞讨、被人侮辱的画面,继而又闪出那天被吓疯了的表弟惊恐的眼神。他思绪难平,最后在稿纸上写下了两行字:/没有吃过人的孩子,或者还有/救救孩子……/钱玄同站在南半截胡同口,指着对面的广和居对刘半农说:“今天要是能拿到豫才的稿子,我就请你到广和居喝酒。”/两人正说着,门开了,周树人蓬头垢面走出来:“我听到外面有人说话,原来是德潜和半农来了。”/钱玄同:“我俩来半天了,怕打搅你老先生写作,没敢敲门。”/周树人一脸怀疑:“霹雳火钱玄同能有这么老实? 我不信。二位赶紧进屋吧。”/钱玄同拦住周树人:“且慢!我俩是奉仲甫之命来取您大作的。要是成了,我们就拿上手稿上广和居撮一顿。要是没成,我们就不进屋了,直接走人。”/周树人:“那就快进屋吧。成了。”/三人进得屋来,屋里散发出一股浓浓的烟味,钱玄同被呛得直咳嗽。/周树人捧起书桌上的手稿交给钱玄同:“还真得感谢陈独秀隔三岔五来催稿,不然我也写不出来。”/钱玄同翻阅手稿:“狂人日记!这么说,我现在手上捧着的就是中国第一部白话文小说的手稿啰。你俩作证,我钱玄同是中国第一个看《狂人日记》的人。”说完哈哈大笑。/周树人:“就算是吧。这孩子生得晚了点。”/钱玄同拿着书稿,打趣说:“我说豫才,怎么没署名? 这孩子的爹是谁呀? ”/周树人拿过第一张稿纸,在“狂人日记”下面写下两个字:鲁迅。/钱玄同诧异地问:“鲁迅,什么意思? ”/周树人:“没什么意思,瞎起的。你记住,我周树人以后就叫鲁迅了。”/别过刘半农和周树人,钱玄同兴冲冲地把书稿交给陈独秀。/陈独秀高兴地问道:“成了? ”/钱玄同高兴地答道:“成了!”/陈独秀:“你应该看过了,觉得怎么样? ”/钱玄同:“你自己看,平心静气地看,我不打搅你。”/陈独秀坐下来看稿子,看着看着就念出声来:吃人的是我哥哥!/我是吃人的人的兄弟!/我自己被人吃了,可仍然是吃人的人的兄弟!/陈独秀把稿子看了又看,激动不已:“过瘾,太过瘾了!”说着拿起电话,“孑民兄,你等着,我过去让你看个东西。”/陈独秀捧着一摞稿子一路小跑着向校长室赶,钱玄同跟在后面,气喘吁吁。路人不知怎么回事,都好奇地望着他们。/蔡元培正在和胡适说事,陈独秀抱着稿子冲进来:“孑民兄,豫才的小说写成了。”/蔡元培接过手稿:“‘狂人日记,鲁迅。’这是豫才写的? ”/陈独秀激动地说:“钱玄同刚刚去讨回来的,不长,你看看。”/看着看着,蔡元培也不自觉地念出声来:/我翻开历史一查,这历史没有年代,歪歪斜斜的每页上都写着“仁义道德”几个字。我横竖睡不着,仔细看了半夜,才从字缝里看出字来,满本都写着两个字是“吃人”!/念着念着,蔡元培一拍桌子:“好!这哪里是小说,这是刀,这是枪!过瘾!”/说着,把手稿递给旁边的胡适,胡适看着看着,也念出声来:/妹子是被大哥吃了,母亲知道没有,我可不得而知……/我未必无意之中,不吃了我妹子的几片肉,现在也轮到我自己……/有了四千年吃人履历的我,当初虽然不知道,现在明白,难见真的人!/大家都不说话了。过了半晌,陈独秀说:“孑民兄,我真是太激动了。我现在的心情就像当年拿到适之的《文学改良刍议》一样,心里燃起了一团火。”/蔡元培:“豫才看问题就是尖锐。这篇小说对国民性的批判和封建礼教的揭露可谓入木三分。”/胡适有点担忧:“会不会过于激烈了? ”陈独秀:“不为过!下一期《新青年》就发。适之,这可是白话文的一个里程碑呀,你可别怕它抢了你倡导白话文的头功哟。”胡适有些不好意思了。文本二:我怎么做起小说来(节选)   鲁迅/我怎么做起小说来 ——这来由,已经在《呐喊》的序文上,约略说过了。这里还应该补叙一点的,是当我留心文学的时候,情形和现在很不同:在中国,小说不算文学,做小说的也决不能称为文学家,所以并没有人想在这一条道路上出世。我也并没有要将小说抬进“文苑”里的意思,不过想利用他的力量,来改良社会。……/但我的来做小说,也并非自以为有做小说的才能,只因为那时是住在北京的会馆里的,要做论文罢,没有参考书,要翻译罢,没有底本,就只好做一点小说模样的东西塞责,这就是《狂人日记》。大约所仰仗的全在先前看过的百来篇外国作品和一点医学上的知识,此外的准备,一点也没有。/但是《新青年》的编辑者,却一回一回的来催,催几回,我就做一篇,这里我必得记念陈独秀先生,他是催促我做小说最着力的一个。/自然,做起小说来,总不免自己有些主见的。例如,说到“为什么”做小说罢,我仍抱着十多年前的“启蒙主义”,以为必须是“为人生”,而且要改良这人生。我深恶先前的称小说为“闲书”,而且将“为艺术的艺术”,看作不过是“消闲”的新式的别号。所以我的取材,多采自病态社会的不幸的人们中,意思是在揭出病苦,引起疗救的注意。6、下列对文本相关内容和艺术特色的分析鉴赏,不正确的一项是()(3分)A.文本开头以“雾气缭绕,满地烟蒂”描摹补树书屋的环境,画面感十足,呈现出周树人连续多日伏案写作、专注沉思的状态。B.文本一多次引用《狂人日记》原文,让历史场景更真实,突出鲁迅对封建礼教的批判,契合了新文化运动唤醒民族觉醒的初衷。C.文本一写陈独秀、蔡元培、胡适念《狂人日记》手稿后的不同反应,胡适念后“大家都不说话了”,众人都担忧小说过于激烈。D.文本二体现了鲁迅的小说观,尽管小说在传统文体中是一个边缘性的文体,“不算文学”,鲁迅却偏偏要选择它来“改良社会”。7、关于文本一中的主要人物形象,下列说法不正确的一项是()(3分)A.与钱玄同等人看到《狂人日记》后的激动相比,周树人完成作品后只是说“就算是吧”,表现出他尽管完成作品依然彷徨不安的心理。B.周树人用“霹雳火”称呼钱玄同,这种对人物性格进行概括以称呼人物的方式在《红楼梦》中也很常见,如用“无事忙”称呼贾宝玉。C.文本一写到陈独秀多次催稿的细节,正符合他《新青年》核心引领者的身份,也表现了他雷厉风行、敢想敢做的行事风格。D.蔡元培拿到《狂人日记》手稿,念着念着拍案叫绝,连声评价“这是刀,这是枪”,让读者感受到时代先驱的革命激情。8、为了参加学校话剧大赛,小语同学认真研读文本一后,补充了适当的舞台说明,将“钱玄同呈手稿”部分改编成演出本(如下)。小语同学主要补充了哪些方面的内容,请结合改编后的演出本简要分析。(4分)        “钱玄同呈手稿”演出本/陈独秀正坐在藤椅上翻看着桌上的报刊,门外传来急促且轻快的脚步声,钱玄同推门而入,脚步未停,脸上带着抑制不住的喜色,双手紧紧攥着一份书稿。/钱玄同(兴冲冲,声音带着雀跃,几步走到桌前)仲甫!/陈独秀抬眼,见是钱玄同这般模样,眼中立刻闪过笑意,放下手中报刊。/陈独秀(眉梢上扬,急切问道)成了?/钱玄同(重重点头,将书稿往桌上一递,语气笃定又欣喜)成了!/陈独秀伸手接过书稿,指尖触到纸页,目光在书稿上扫过,又抬眼看向钱玄同。/陈独秀(笑着问道)你应该看过了,觉得怎么样?/钱玄同嘴角仍挂着笑,却故意卖了个关子,后退半步,做了个“请”的手势。/钱玄同(语气轻松,带着几分期许)你自己看,平心静气地看,我不打搅你。/钱玄同走到一旁,背手站定,目光落在陈独秀身上,陈独秀点点头,将书稿摊在桌上,低头细细翻看。陈独秀起初翻页的速度稍快,眉头微蹙,渐渐地,翻页的动作慢了下来,神情愈发凝重。看到某处,他嘴唇微动,不自觉地念出声来。/陈独秀(声音由轻渐重,带着难以言喻的沉郁与震撼)吃人的是我哥哥!我是吃人的人的兄弟!我自己被人吃了,可仍然是吃人的人的兄弟!/他猛地站起,眼中闪着激动的光芒,大声赞叹。/陈独秀(声音洪亮,带着难以抑制的兴奋)过瘾,太过瘾了!/话音未落,陈独秀猛地转身,大步走到桌角的老式手摇电话旁,一手抓起电话听筒,一手快速摇着电话手柄,目光仍带着激动的神采,对着电话听筒大声说道。/陈独秀(对着听筒,语气急切又兴奋)子民兄,你等着,我过去让你看个东西。/钱玄同站在一旁,见陈独秀这般模样,脸上露出欣慰又畅快的笑容。
(三)阅读Ⅲ(本题共5小题,22分)阅读下面的文言文,完成10-14题。材料一:颍川郤俭能辟谷,饵伏苓;甘陵甘始亦善行气,老有少容;庐江左慈知补导之术。初,俭之至,市伏苓价暴数倍。议郎安平李覃学其辟谷,餐伏苓,饮寒水中泻利,殆至殒命。后始来,众人无不顾,呼吸吐纳。军谋祭酒宏农董芬为之过差,气闷不通,良久乃苏。左慈到,又竞受其补导之术。人之逐声,乃至于是。光和中,北海王和平亦好道术,自以当仙;济南孙邕少事之,邕至今恨不取其宝书仙药;刘向于《鸿宝》之说。古今愚谬,岂惟一人哉。(节选自曹丕《典论·论方术》)材料二:/衡以图纬[注]虚妄,非圣人之法,乃上疏曰:/臣闻圣人明审律历以定吉凶,重之以卜筮,杂之以九宫,经天验道,本尽于此。立言于前,有征于后,谓之谶书。自汉取秦,用兵力战,功成业遂,可谓大事,当此之时,莫或称谶。刘向父子领校秘书,阅定九流,亦无谶录。成、哀之后,乃始闻之。/《尚书》云“尧使鲧理洪水”,而《春秋谶》云“共工理水”;凡谶皆云黄帝伐蚩尤,而《诗谶》独以为“蚩尤败,然后尧受命”;《春秋元命包》中有公输班与墨翟,事见战国,非春秋时也。一卷之书,互异数事,圣人之言,势无若是,殆必虚伪之徒,以要世取资。/永元中,清河宋景遂以历纪推言水灾,而伪称洞视玉版。或者至于弃家业,入山林。后皆无效,而复采前世成事,以为证验。此皆欺世罔俗,以昧势位,情伪较然,莫之纠禁。且律历、九宫,数有征效,世莫肯学,而竞称不占之书。譬犹画工恶图犬马而好作鬼魅诚以实事难形而虚伪不穷也。宜收藏图谶,一禁绝之,则典籍无瑕玷矣。(节选自范晔《后汉书·张衡列传》)材料三:世称纣力能索铁伸钩,又称武王伐之,兵不血刃。夫以索铁伸钩之力当人,则是孟贲、夏育之匹也;以不血刃之德取人,是则三皇、五帝之属也。以索铁之力,不宜受服;以不血刃之德,不宜顿兵。今称纣力,则武王德贬;誉武王,则纣力少。索铁,不血刃,不得两立;殷周之称,不得二全。不得二全,则必一非。(节选自王充《论衡·书虚篇》)[注]“图纬”是汉代流行的谶纬之书,是图谶(带图画的吉凶预言)和纬书(神学附会儒家经典的神怪文字)的合称。10、材料二画线的部分有三处需要断句,请用铅笔将答题卡上相应位置的答案标号涂黑,每涂对一处给1分,涂黑超过三处不给分。(3分)譬犹画A工恶B图犬马C而好作D鬼魅E诚以实事F难形G而虚伪H不穷也。11、下列对材料中加点的词语及相关内容的解说,不正确的一项是()(3分)A.“鸱”“狼”与《过秦论》“天下云集响应”中的“云”“响”用法相同。B.惑,迷惑,与《师说》“句读之不知,惑之不解”中的“惑”意思不同。C.“重之以卜筮”中的“以”与“以要世取资”中的“以”用法不同。D.“莫之纠禁”与《鸿门宴》“大王来何操”中的“何操”结构不同。12、下列对材料有关内容的概述,不正确的一项是()(3分)A.郤俭、甘始、左慈等人以方术闻名,人们跟风效仿,导致有人因学辟谷而腹泻险些丧命,有人因行气过度而气闷昏厥。B.张衡认为图纬“非圣人之法”,是虚妄邪说,旗帜鲜明地揭露“虚伪之徒”以图谶欺世盗名,谋取社会资本的四望梅川河用心。C.张衡认为谶书出现较晚,汉朝取代秦朝时并未流行,刘向父子校订秘书也没有收录,直到汉成帝、哀帝之后才开始听闻。D.王充认为纣王有“索铁伸钩之力”,而周武王有“不血刃之德”,因此二人不可能同时称王,一定有人会被打败。13、把材料中画横线的句子翻译成现代汉语。(8分)(1)后皆无效,而复采前世成事,以为证验。(4分)
(2)今称纣力,则武王德贬;誉武王,则纣力少。(4分)
14、三则材料都批判了当时社会上的“伪”现象,但采用的方法不同,批判的目的也不同,请完成下表。(5分)
项目人物
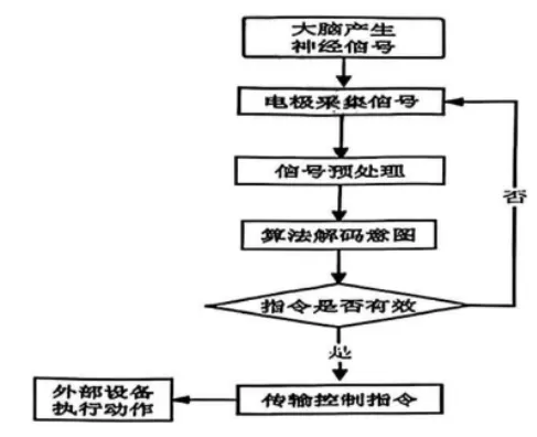
方法
目的
曹丕
批判世人盲目跟风,倡导理性清醒
张衡
梳理文献、记载中互异之处
王充
(四)阅读Ⅳ(本题共2小题,9分)晓雨复登燕子矶①绝顶  王士祯岷涛万里望中收,振策危矶最上头。吴楚青苍分极浦,江山平远入新秋。永嘉南渡②人皆尽,建业西风水自流。洒泪重悲天堑险,浴凫飞燕满汀洲。[注]①燕子矶:位于南京,素有“万里长江第一矶”的美誉,历来是兵家必争之地。其因山石屹立江边,三面临空,形似展翅欲飞的燕子而得名。②永嘉南渡:西晋永嘉年间,少数民族混战中原,北方士民为躲避战乱,纷纷渡江南下。15、下列对这首诗的理解和赏析,不正确的一项是()(3分)A.首联写诗人杖策攀顶,矶头险踞,岷江万里,风涛汹涌,气势雄浑,壮景尽收眼底。B.颔联紧承首句“望”字而来,苍茫天色是为青苍,近山望远是为平远,意境旷远。C.尾联“悲”情与《贺新郎·国脉微如缕》中“有金汤便可无张许”的感慨如出一辙。D.汀洲飞燕,以景结情,与颈联长风西归形成鲜明对比,表达了对太平盛世的欣慰。(五)名篇名句默写(本题共1小题,6分)17、补写出下列句子中的空缺部分。(6分)小文同学正在与AI助手进行关于人生哲理的对话,请根据语境提示填写相应的名句。小文:小A小A,最近找不到学习动力,感觉前路有些迷茫,那古人在追求理想的过程中有没有遇到过类似的困境?AI助手:有的,曹操在《短歌行》中就曾用比喻句(1)“ , ”表达了求贤的焦虑与理想遥不可及的感慨。小文:那面对困境,古人会如何自我宽慰或排解呢?AI助手:陶渊明在《归去来兮辞》中给出了答案,他写道:(2)“ , ”,提醒我们虽过去不可追,但未来仍可把握。小文:如果想用古诗文激励自己坚持下去,你会推荐哪两句?AI助手:我推荐(3)“ , ”。
二、语言文字运用(本题共5小题,18分)阅读下面的文字,完成18-22题。科幻作品里的“意念控物”,正随着脑机接口技术的不断突破而被照进现实!脑机接口,(    ),就是人类大脑与外部机器设备的连接口。脑机接口就像一根“思维数据线”,能直接“读取”大脑信号,并通过放大、滤波、解码等精密处理,将人的“意念”转化为机器操控指令。当瘫痪者用“意念”操控机械臂喝水,当失语者借助脑电波逐字输出心声,一个诱人的想象随之浮现:能否将海量知识打包进芯片,然后通过脑机接口一键“拷”入大脑/脑机接口可分为三类,每类接口都有其优缺点。①非侵入式像一顶精密“帽子”,电极贴在头皮外,安全无创,但主要缺点是信号精度有限;②侵入式是将发丝般纤细的柔性电极等微型器件,直接植入大脑皮层,以获得最清晰稳定的信号,但电极的植入不仅会损伤大脑神经,还会给大脑带来感染的风险;半侵入式则兼顾到前两者的优点,将电极置于大脑皮层与颅骨之间,在信号质量和手术创伤间寻求平衡。/脑机设备可以识别使用者“想抬手”“想点击”的神经指令,并将其转化为机械臂、光标等外部设备的动作。其本质都是解码特定脑区的电信号,针对的也是单一、基础的神经指令。知识并非静态文件,而是大脑亿万神经元动态编织的网络。③每个知识点的诞生,都依赖多个脑区协同工作——记忆皮层存储碎片,前额叶整合逻辑,海马体提取背景……这是一个从感知、理解到灵活调用的完整回路。人类至今没有破解完整的神经编码规则,还不清楚概念、逻辑、经验如何在大脑中存储。/技术的不断成熟,将推动脑机接口技术向教育领域延伸。④脑机接口或许能辅助增强记忆,也有可能作为人脑的“智能外挂”。由此人类将开启全新的人机交互时代。18、填入文中第一段括号内的成语,最恰当的一项是()(3分)A.望文生义  B.顾名思义  C.一目了然  D.不言而喻19、下列说法不正确的一项是()(3分)A.①句中使用了明喻。B.②句中“纤”读为“xiān”。C.③句中破折号可改为冒号。D.④句没有语病。20、请根据第二自然段的内容推测半侵入式脑机接口的缺点。
要求:使用两个包含转折关系的句子,表达简洁通畅。(4分)21、请将下面脑机接口设备工作流程图转换成一段文字。要求内容完整,表述清晰,不超过100字。(5分)
2026届广东惠州高三下学期4月模拟考试 语文试题及答案 第2张
三、写作(60分)23、阅读下面的材料,根据要求写作。(60分)一棵树,一棵树彼此孤离地兀立着在看不见的深处它们把根须纠缠在一起在今天互联互通的时代,以上材料具有启示意义。请结合材料,写一篇文章,体现你的感悟与思考。要求:选准角度,确定立意,明确文体;自拟标题;不要套作,不得抄袭;不得泄露个人信息;不少于800字。
相关链接
2026届浙江温州高三二模  语文试题及答案
2026届辽宁大连高三下学期一模  语文试题及答案
2026届广东中山高三下学期一模语文试题及答案
2026届山东日照高三下学期一模语文试题及答案
2026届河北百师联盟高三下学期一模 语文试题及答案
2026届浙江强基联盟高三下学期3月联考语文试题及答案
2026届山东名校联盟高三下学期2月核心素养评估 语文试题及答案
2026届江西重点中学协作体高三下学期第一次联考语文试题及答案
2026届山东潍坊高三一模 语文试题及答案
2026届陕西西安高三上学期期末考试 语文试题及答案
2026届山西太原高三上学期期末考试 语文试题及答案
2026届安徽滁州高三上学期第一次教学质量监测 语文试题及答案
2026届安徽淮北高三上学期第一次质量检测 语文试题及答案
2026届甘肃酒泉高三上学期期末考试  语文试题及答案
2026届全国高考1卷1月模拟  语文试题及答案
2026届湖北黄冈高三上学期1月期末考试  语文试题及答案
2026届福建高三上学期12月百校联合测评 语文试题及答案
2026届广东广州高三12月调研测试  语文试题及答案
2026届湖北楚天协作体高三上学期12月月考 语文试题及答案
2026届湖北襄阳四中高三上学期12月月考 语文试题及答案
2026届山西晋中部分学校高三上学期11月月考语文试题及答案
2026届浙江温州普通高中高三第一次适应性考试语文试题及答案
2026届江苏盐城高三上学期期中考试  语文试题及答案
2026届山东德州高三上学期期中考试  语文试题及答案
2026届江苏连云港高三上学期期中调研考试 语文试题及答案
2026届湖南衡阳八中高三上学期期中考试  语文试题及答案
2026届湖南名校联合体高三上学期第一次联考 语文试题及答案
2026届广东大湾高三上学期联合模拟考试 语文试题及答案
2026届河南实验中学高三上学期第一次月考 语文试题及答案
2026届河北九师联盟高三上学期10月质量检测语文试题及答案
2026届湖南衡阳八中高三上学期第二次月考 语文试题及答案
2026届江西创智协作体高三九月联合调研 语文试题及答案
2026届湖南高三上学期摸底考 语文试题及答案
2026届河北邯郸高三上学期第一次调研监测 语文试题及答案
2026届河南九师联盟高三上学期开学考 语文试题及答案
2026届安徽江淮十校高三上学期第一次联考 语文试题及答案
2026届广东新高三上学期入学摸底考 语文试题及答案
2026届高三上学期开学考 语文试题及答案
2026届山西高三上学期8月阶段性测试 语文试卷及答案
2026届湖北高中名校联盟高三上第一次联测 语文试题及答案
2026届广东八校联盟高三上学期入学检测 语文试题及答案
2026届江苏部分名校新高三适应性检测 语文试题及答案
2026届高三暑假作业卷 语文试题及答案
2025届全国高考北京卷 语文真题及答案
2025届全国高考(新课标 I 卷) 语文真题及答案
2025届新高考Ⅰ卷押题 语文试题及答案
2025届山东高三三模 语文试题及答案
2025届安徽部分高中高三最后一卷 语文试题及答案
2024届全国高考(甲 卷) 语文真题及答案
2024届全国高考(新课标 I 卷) 语文真题及答案
2024届全国高考(新课标 Ⅱ卷) 语文真题及答案
2024届北京高考 语文真题及答案
2024届上海高考 语文真题及答案
2024届天津高考 语文真题及答案

抱歉,评论功能暂时关闭!