探究二力平衡条件的实验
一、选择题
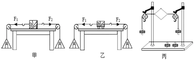
1. 如图所示,是探究“二力平衡的条件”实验,小车置于水平桌面,两端的轻质细绳绕过定滑轮挂有等重钩码。是小车受到的向左的拉力,是小车受到的向右的拉力,与在同一水平直线上。下列说法不正确的是()

A. 因为摩擦可忽略,小车在水平方向上只受到、作用
B. 增减钩码个数,是探究二力大小对小车平衡的影响
C. 、大小相等时,小车一定处于平衡状态
D. 将小车水平扭转90°时,、仍在同一直线上
2.用如图装置研究二力平衡时,在轻质塑料片两端的细绳上挂等重的钩码,手放开塑料片后,可观察到塑料片将()
A. 向左下运动B. 向右上运动C. 仍静止不动D. 转过一定角度
3.如图为研究二力平衡条件的实验装置,下列关于这个实验的叙述错误的是()

A.为了减小摩擦,应选用尽量光滑的水平桌面
B.为使实验效果明显,应选用质量较大的小车
C.调整两边的托盘所放的钩码数量,可以改变力的大小
D.将小车扭转一个角度,是为了改变力的作用线的位置
二、填空题
1. 在“探究二力平衡的条件”实验中,同学们设计了如图所示的甲、乙两种实验方案。小张同学认为乙方案更合理,理由是乙方案中使用小车时_________对实验的影响更小,可以忽略不计。实验中同学们认定小车在水平方向受力平衡,所依据的现象是小车___________。

三、实验探究题
1.如图甲所示,是探究“二力平衡的条件”的实验装置图。

(1)当向两端的托盘里分别加入两个相同的砝码后,小车静止在桌面上,这说明二力平衡时,两个力的大小________。
(2)然后把小车扭转一个角度,松手后,观察小车的运动状态,这样做的目的是为了探究两个平衡的力是否作用在_________。
(3)如果将小车换成弹簧测力计(如图乙),在左、右两端的托盘中各放入重为3N的砝码,则弹簧测力计的示数为________选填“6N”、“3N”或“0N”)。
(4)如果剪断图甲中左边的细线,小车将向右做加速运动,在加速运动的过程中,小车的惯性将________(选填“变大”、“变小”或“不变”)。
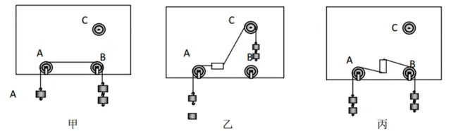
2.在探究“二力平衡的条件”实验中,如图甲乙所示,小刚把木块、小华把小车放在光滑的水平桌面上,他们分别向托盘里加减砝码观察现象。

(1)这两个实验装置中,你认为装置______(选填“甲”或“乙”)更科学,其主要原因是为了减少______对实验结果的影响。
(2)在装置乙中,将小车旋转一定角度,松手后,发现小车又恢复原状,这说明两个力在______上,物体才能平衡。
(3)在实验中通过加减______来改变桌面上的物体所受拉力的大小。
(4)小丽利用如图丙所示装置,将系于小卡片(重力可忽略不计)两对角的线分别跨过左右支架上的滑轮,在线的两端分别挂上相同个数的钩码,在卡片平衡时,用剪刀将卡片从中间剪开,并观察到两边钩码落下、由此可以得到二力平衡的另一条件是两个力必须作用在______。
3.小明在探究“二力平衡条件”的实验中,设计组装的实验装置如图所示。

(1)老师指出实验桌面越光滑越好,其原因____________。
(2)小明在线的两端托盘内放入砝码,并通过调整___________来改变拉力的大小,当左右盘内放的砝码数量不等时,则小车会____________。
(3)当小车平衡时,小明用手将小车扭转一个角度,松手后小车______(填“能”或“不能”)平衡,观察到小车会发生_________,恢复到原来位置处于静止状态,设计这个步骤的目的是为了探究________。
(4)力的三要素完全相同的二个力______(填“是”或“不是”)平衡力。
4.如图甲是小明同学探究二力平衡条件时的实验情景。


(1)小明在实验中选择小卡片的目的是为了忽略小卡片的_________对实验的影响;
(2)要验证不在“同一直线的力”是否平衡,实验中的操作是将小卡片_______(选填“翻转”或“扭转”),松手后观察小卡片是否平衡;
(3)当小卡片处于平衡状态时,若用剪刀将小卡片剪成两半,再观察两半小卡片是否平衡,这样做是为了验证二力平衡时两个力必须作用在________;
(4)在探究同一问题时,小华将木块放在水平桌面上,设计了如图乙所示的实验,老师认为还是小明的方案更好,小华的方案存在的缺陷是________对实验的影响较大。
5.如图所示是物理兴趣小组的同学在“研究二力平衡条件”的实验,以下是实验过程∶



(1)把木块放在水平桌面上,发现当两盘砝码质量相等时,木块静止。当左侧放400g砝码,右侧放500g砝码时,小木块也保持静止状态,经过分析是木块受到摩擦力的作用,则摩擦力的大小为______N。(g取10N/kg)。
(2)为了解决这个问题,将木块换成小车,如图乙所示,并且把小车放在较为______(选填“光滑”或“粗糙”)的水平桌面上。
(3)小车处于静止后,保持F1与F2相等,将小车扭转到如图丙所示的位置,松手后,小车将______(选填“保持静止”或“扭转回来”);这一步骤说明二力平衡时,要满足两个力在______(选填“同一直线上”或“同一物体上”)这一条件。
(4)如果将小车换成弹簧测力计,左右两盘各放入重5N的砝码,则弹簧测力计的示数为____·
A.10NB.5NC.0N
6. 某实验小组探究二力平衡条件的实验装置如图所示,M为一轻薄塑料片,实验中所用的钩码均为100g,不计绳重及摩擦(g取10N/kg)。

(1)在图甲的装置中滑轮的作用是_______。
(2)当左右两端同时各挂1个钩码时,塑料片静止,其左端受到的拉力F1与右端受到的拉力F2的方向_______;当左端再挂上一个钩码时,如图乙所示,塑料片将做_______(选填“匀速”或“变速”)运动,此时塑料片受到的合力为_______N。
(3)在图甲实验的基础上,用剪刀将塑料片从中间剪断,断开的塑料片向两边加速运动,说明不任同一物体上的两个力________平衡(选填“他”或“不能”)。
7. 如图是“探究二力平衡条件”的实验装置。

(1)把小车放在比较光滑的水平桌面上,用手按住小车不动,在两托盘中放入质量相等的砝码,放手后小车静止;在两托盘中放入质量不相等的砝码,放手后小车运动,这说明相互平衡的两个力______。用手按住小车不动,把两个托盘放在小车的同一侧,放入质量相等的砝码,放手后小车运动,这说明相互平衡的两个力______;
(2)把小车放在水平桌面上,保持两托盘砝码质量相等,使小车静止,将小车扭转一个角度后释放,观察到小车______,这说明相互平衡的两个力作用在______;
(3)实验中为了减小摩擦力对实验的影响,应选择质量较______的砝码进行实验。(选填“大”或“小”)
8. 在探究“二力平衡的条件”实验中,小聪同学采用的实验装置如图甲所示,小明同学采用的实验装置如图乙所示。

(1)老师指出图乙的装置更科学,原因是选用小车,可以减小______对实验结果的影响;
(2)实验中判断小车是否受平衡力作用的依据是小车保持______(选填“静止”或“匀速直线运动”)状态;
(3)左右两盘放质量相等的砝码,小车保持静止。将左盘中再添加一个砝码,小车将运动,说明彼此平衡的两个力大小_______;
(4)小车处于静止后,保持与的大小不变,把小车在水平桌面上扭转一个角度后释放,小车将转动,说明彼此平衡的两个力必须在_______上。
9.实验小组用如图所示的实验来探究二力平衡的条件,实验中每个钩码重力相同,摩擦力忽略不计。


(1)如图甲装置,当左右两端同时各挂两个钩码时,小车静止,此时F1、F2的大小 _______方向_______;当左右两端同时取下一个钩码时,如图乙,小车仍静止,此时F3_______F4;当右端再挂上一个钩码时,如图丙,小车做加速运动,此时F5______F6。
(2)在图甲实验的基础上,将小车扭转一个角度,松手后,小车将______(选填“保持静止”或“扭转回来”),这一步骤说明二力平衡时,要满足二个力在_______上的条件。
(3)对比甲、乙、丙三次实验,当小车静止时,水平方向上受到的两个力大小______,还能看出小车受非平衡力作用时,运动状态将_______。
10.如图甲所示,是小华探究“二力平衡条件”的实验。


(1)装置中使用定滑轮是利用它能够________的特点。
(2)当左、右两盘中的砝码质量_______(选填“相等”或“不相等”)时,桌面上的小车处于静止状态,此时小车受到_______对平衡力的作用。
(3)小车处于静止后,保持F1与F2的大小不变,将小车扭转到如图乙所示的位置,松手后,小车将________(选填“保持静止”或“扭转回来”)。这一步骤说明二力平衡时,要满足二个力在______上的条件。
11.(2021·衡阳)小华同学用下面的装置探究二力平衡的条件,具体操作如下:

(1)如图甲所示,用直径略小于滑轮孔径的铁钉把三个滑轮、、分别钉在木板上,木板竖直挂起待用,用大号缝衣针把细线沿轻质塑料块的中心轴线穿过,并在紧靠塑料块的两侧各打一线结,使塑料块与细线固定在一起,且塑料块不与木板接触。将塑料块由静止开始运动,实验表明,作用在同一个物体上的两个力,方向相反,但________不相等,则这两个力不平衡。
(2)按住塑料块,把跨过轮的细线移到轮上,在两线端挂上相同质量的钩码,松手后塑料块由静止开始转动,如图乙所示。按住塑料块,把跨过轮的细线移到轮上,把塑料块转过,松手后塑料块由静止开始转动,如图丙所示。由此表明,作用在同物体上的两个力,如果仅仅大小相等,方向成某一角度或方向相反但_________,这两个力不平衡。
(3)在探究同一问题时,另一同学将木块放在水平桌面上,设计了如图丁所示的实验,同学们认为小华的实验优于此实验,其主要原因是___________。


A.塑料块容易扭转
B.塑料块是比较容易获取的材料
C.减少了摩擦力对实验结果的影响
12.如图甲所示是小华同学探究二力平衡条件时的实验情景。


(1)实验中的研究对象是________(选填“卡片”或“钩码”),通过调整________来改变拉力的大小。
(2)当小卡片平衡时,小华将小卡片转过一个角度,松手后小卡片________(能/不能)平衡,设计此实验步骤的目的是为了探究________。
(3)为了验证只有作用在同一物体上的两个力才能平衡,在图甲所示情况下,小华下一步的操作是________。
(4)小红同学也对同一问题进行了探究,但他在左右支架上装配两个滑轮时没有安装成相同高度(如图乙所示),你认为能否用小红的装置进行实验________(选填“能”或“不能”)。
(5)在探究同一问题时,小明将木块放在水平桌面上,设计了如图丙所示的实验,同学们认为小华的实验优于小明的实验。其主要原因是________。
A.减少摩擦力对实验结果的影响
B.小卡片是比较容易获取的材料
C.容易让小卡片在水平方向上保持平衡
D.小卡片容易扭转