


时光不会被辜负,勿忘初心,从今日起!

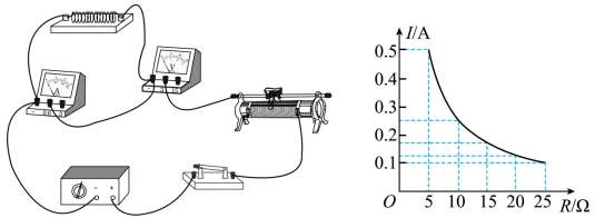
小明利用如图甲所示的电路探究电流跟电阻的关系。已知电源电压为6V且保持不变,实验用到的电阻阻值分别为5Ω、10Ω、15Ω、20Ω、25Ω。
(1)该同学接错了一根导线,请你在这根导线上打“×”,并补画出正确的那根导线______。
(2)实验过程中,移动变阻器滑片时,眼睛应注视电压表;
(3)小明用5Ω的电阻做完实验后,接下来的操作是______,然后将10Ω的电阻接入电路,以此类推。根据实验数据,小明做出了电流与电阻的关系图象如图所示,根据实验图象判断,小明每次实验,控制电压表示数为______V不变。
(4)小红在小明实验的基础上,又多进行了一次实验,所用定值电阻为32Ω,正确连接后,测得电流为0.1A,他的错误是______;由此推断,小军用32Ω电阻替换掉的是阻值为_______的电阻。






如图电路中,定值电阻R1=10Ω,R2为滑动变阻器,电源电压不变。当滑片在a端时,电流表示数为0.6A,滑片在b端时电压表示数为4V。求:
(1)电源电压;
(2)滑片在b端时电流表示数;
(3)滑动变阻器R2的最大阻值。




完




喜欢点在看哦

新的起点是成功的开端,目标是行动的航标。一个人生活中没有任何目标,就如大海中漂泊的孤舟,不是稳步前进,而是随波逐流。