关于模考,我想说的是:模考是很重要,客观题阶段如果你没有参加至少7次以上的模考,到了考场上你发挥一定有问题!
参考模考大赛有助于自己掌握答题节奏,提前熟悉机考系统,训练自己合理分配做题时间,及时发现自己的薄弱点在哪里,有针对性的查漏补缺,明确提升方向。还有及时批改反馈、实时榜单排名,让你知道自己考试的情况、成绩所处的位置,所以参加日常的模考大赛是很有必要的!
但是模考的分数也应该理性的看待,不能一味的把每一次的模考分数进行横向比较。每一次的模考难度都是不一样的,有时候是全真题,有时候是全模拟题,没有可比性。你应该把每次的模考分数和我们所划的分数线进行比较,看自己的差距在哪里,每次模考后也会出详细的模考分析,对照着自己的情况看是哪里需要补一补,是时间不够题目做不完还是正确率低?
如果是前者,那就要多训练时间控制,平时自己做题就有意识的注意下这个问题,多模考训练;
如果是后者,正确率也不是一天两天能提升的,只能把提分快的科目优先抓住,也即必须优先稳住小法,抄小法关键词【这是最重要的】,带背课听了,错题刷了,套卷做了,优先做必考点精选真题卷,能这样坚持到考前,正确率一定会有所提升的!
具体的复习方法可以参考我之前写的文章或者下面的任务清单:法考客观题划分4级重点,稳住就过了!

法考是很难,延期后更难,但不是没有方法,而是看你愿不愿意去做!
上个周末(9.25-9.26)我们举行了客观题的公法/私法双卷综合模考大赛,共200道题,总分300分,卷一卷二各100题,分数各150分,题目类型是全模拟题,难度适中,题型分布与真实考卷一致,试卷覆盖公法、私法综合所有重要考点。
本次双卷考的结果并不理想,80%以上的同学都未达标,今天我就来给你们分析分析这场模考出现的问题!复盘后一定要针对自己的问题去优化解决,否则越拖越垮,就废了(本次模考大赛对免费学员的成绩进行分析)!
一、模考结果
1.免费学员平均分:77.31
(去除考试时长低于30分钟,得分低于5分的无效数据)


从数据显示可知:100分以上占比约12%(去掉最高分140-150分);100分以下占比约88%。其中,100-110分的人数占比为8%,110-140分的人数为4%。

二、模考结果分析
本次模考是全模拟题,难度系数中等。本次免费学员整体考得并不好,大都集中在了100分以下,只有12%的人达标!
根据我们7年的带班经验和本次同学们的考试成绩综合分析,现阶段这套试题能够达到100分以上,坚持到考前已经足够达到及格水平,上岸没啥问题。
如果你的得分在100+,110+,那么你上岸的希望就非常大了,一定要保持住现在的状态;
如果你本次的得分在100以下,这个分数确实不是太理想,需要反省下问题到底出在哪里,再针对性解决,时间不多,一定要把时间都放在关键的地方。
三、各分数段学习建议
1.得分在110分以上的同学,说明你现阶段公法的复习效果已经达标。只要你保持住现在的学习状态,客观题考试的时候,你的公法综合卷就没问题的!
现在虽然考试时间还未确定,但是所剩时间也并不多了,这段时间就好好用来查漏补缺,加强知识点的巩固。
2.得分在100-110分之间的同学,这个分数段差不多是正常水平,成功过线的希望还是挺大的,但是要想稳一点,还是要更加努力,好好利用后面的时间去突破。
在最后的冲刺阶段,我更建议大家应该把时间更多的花在性价比高的科目上,例如理论法,根据往年的理论法的考察,其分值丝毫不亚于刑民,但是理论法的分算是好拿的了,只要记得住,分就是你的了!
3.对于100分以下的同学,这部分的同学,需要给你提个醒,如果到现在你的基础还不扎实,那司法部即使是放洪水也不能把你冲过岸啊!
趁现在还有时间,找出问题,再对症下药,加强练习,都准备这么久了,说什么也不能放弃,只要你坚持到最后一刻,那个人就可能是你!
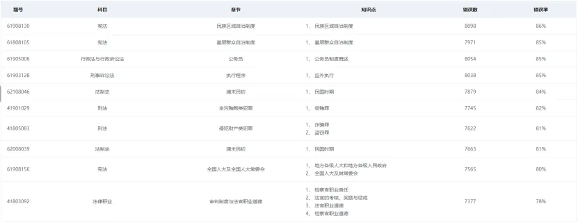
四、高频错题分析

一、模考结果
1.免费学员平均分:66.54
(去除考试时长低于30分钟,得分低于5分的无效数据)



以上是本次模考大赛免费学员的分数分布情况。能看到,低分段(90分以下)人数比例占了绝大部分(86%),中间分段(90-110分)的人数比例占了仅仅1/5左右(12%),高分段(110-140分)只有2%。
二、模考结果分析
本次模考是全模拟题,难度系数中等,现阶段这套试卷能在90分以上的话,就属于掌握得比较到位的了,坚持到考前已经足够达到及格水平,上岸问题不大。
但是从上面的数据显示,本次免费学员的成绩并不是很理想,平均分只有66.54分,相差较远,4/5以上的同学都在90分以下,远远没有达到应该有的水平,只有14%的同学达到了比较理想的分数线。上次的私法综合模考大家的水平普遍跟这次差不多,想要稳过客观,这个分数水平肯定是不够的!!!
客观题如果可以稳在70%左右的正确率,那上岸的希望就非常大了,所以如果你模考的得分能保持在100+,110+,那你基本属于稳过线的,可以适当分出一些精力去衔接主观题,争取只用一年拿下小绿本!
如果你本次的得分在90以下,那这个分数确实不是太理想,到了现阶段必须得对自己要求严格一点了,反省下问题到底出在哪里,是不会做题还是背不住知识点,又或是不知道哪些是重考点,这些我在司考411的公众号都写过,哪里不会点哪里,一定要把劲儿都放在关键的地方!
三、各分数段学习建议
1.得分在110分以上的同学,本次是全模拟题,这个分数足以说明你现阶段私法综合的复习效果已经达标。只要后面能稳住当前这个状态,那私法不是问题!
考前的这段时间你就可以用来查漏补缺,看看自己公法综合是否达标,针对自己比较弱的科目和板块去学习,优先突破性价比比较高的科目,比如小法。
2.得分在90-110分之间的同学,这个分数段也算是比较好的,上岸希望还是比较大的,但是要想稳一点,还是要更加努力,好好利用后面的时间去突破。
这个阶段刑民的性价比很低,一是耗时,二是有难题难突破,所以不建议投入过多精力去学刑民,而应该花更多时间在记忆小法上,其次是诉讼法(诉讼法建议按照行政>民诉>刑诉的顺序复习),平时多做下套卷,尤其是必考点真题卷,里面的错题一定要背会。
3.对于90分以下的同学,真的真的要好好努把力了,虽说法考还没公布考试时间,但是应该也过不了多久的,一定要有点紧张感,拿着这个分数怎么去参加考试!
机会是留给有准备的人的!一定要找出症结,再对症下药,继续加强练习,都准备这么久了,说什么也不能放弃,还老有人问我我这个分数还有没有得救了,有这个时间问我还不如多背点书,每年都有突出重围的人,只要你坚持到最后一刻,那个人就可能是你!
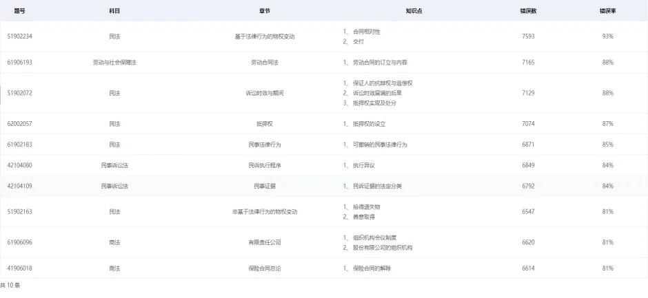
四、高频丢分点分析

以上内容是本次私法综合模考卷中错误率最高(得分率最低)的知识点,经过系统数据的比对,主要对以下这些点进行说明:
●民法-物权变动
本次模考,民法这一科目中,物权变动一章题目错误率较高,主要体现在【51902234】和【51902163】这两道题中,涉及到的知识点主要是基于法律行为的物权变动和非基于法律行为的物权变动。
基于法律行为的物权变动—交付制度:

非基于法律行为的物权变动—拾得遗失物:
【图示一】遗失物中拾得人法律关系:

【图示二】遗失物中受让人法律关系:

非基于法律行为的物权变动—善意取得:
对象条件:对象为占有委托物。(占有脱离物不适用善意取得,包含盗脏、遗失物、漂流物、埋藏物、隐藏物、失散的动物等)
构成要件:(1)出让人为无权处分,且处分合同是有效的;
(2)第三人受让时主观上善意——不知对方无权处分,且无重大过失;(善意的时间点:依法完成不动产物权变动之时)
(3)受让人支付合理价格(不需要实际支付,只需要约定的价格合理即可);
(4)已完成不动产登记/动产交付——即已完成物权变动。
●稳住心态很重要
自从法考延期后,有的人抓紧一分一秒复习,进入了高度紧张的备战状态,有的人日渐堕落,学的知识都抛之脑后了!
紧的太紧,松的太松,这两者都不行啊!一定要把心态放平,松弛有度,法考除了考专业知识,还考大家的心态,保持住我说的稳过状态就行。具体落实到这些事情上:
1. 早上一小时抄关键词,优先抄理论法和商经知;
2. 上下班1-2小时听诉讼法串讲课。
3. 一天一张卷子保持手感,考前至少把必考点精选真题卷和押题卷做了;
4. 每晚空闲时间要有重点的复习,可参考各科必考点重点复习;
5. 其他零碎时间用来刷速记本中的专项练习;
6. 周末可以复习刑法和民法,时间少复习慢就听下我的3小时带背课。
最后通知:
上周【上岸突围赛活动】结束后有不少同学反映,完成了小法套卷后忘了截图或花大时间做完模考,没时间做小法卷等原因,导致无法领取【押题2+1】。
为了不让这部分同学因此错过,我们打算重新上架【(活动)上岸突围赛-小法卷】至明日9月28号凌晨,大家可以在此期间完成以下动作,领取押题2+1:
① 将小法卷的完成度+模考卷的得分截图+一句话“押题2+1,拿来吧你!”发送至群内;
② 将发群消息的截图私聊给班班进行审核,审核通过即可获得【押题2+1激活码】一份!

【注意】扫描下方二维码添加我的个人微信号,我会邀请你加入觉晓免费学习群,进群即可完成活动最后一步,免费获取“决胜押题2+1”;

同时,你也可以在9月27号-9月30号,每晚18-19点,前往淘宝【觉晓法考旗舰店】,39元限时秒杀【押题2+1】试卷!
